GM Service Manual Online
For 1990-2009 cars only
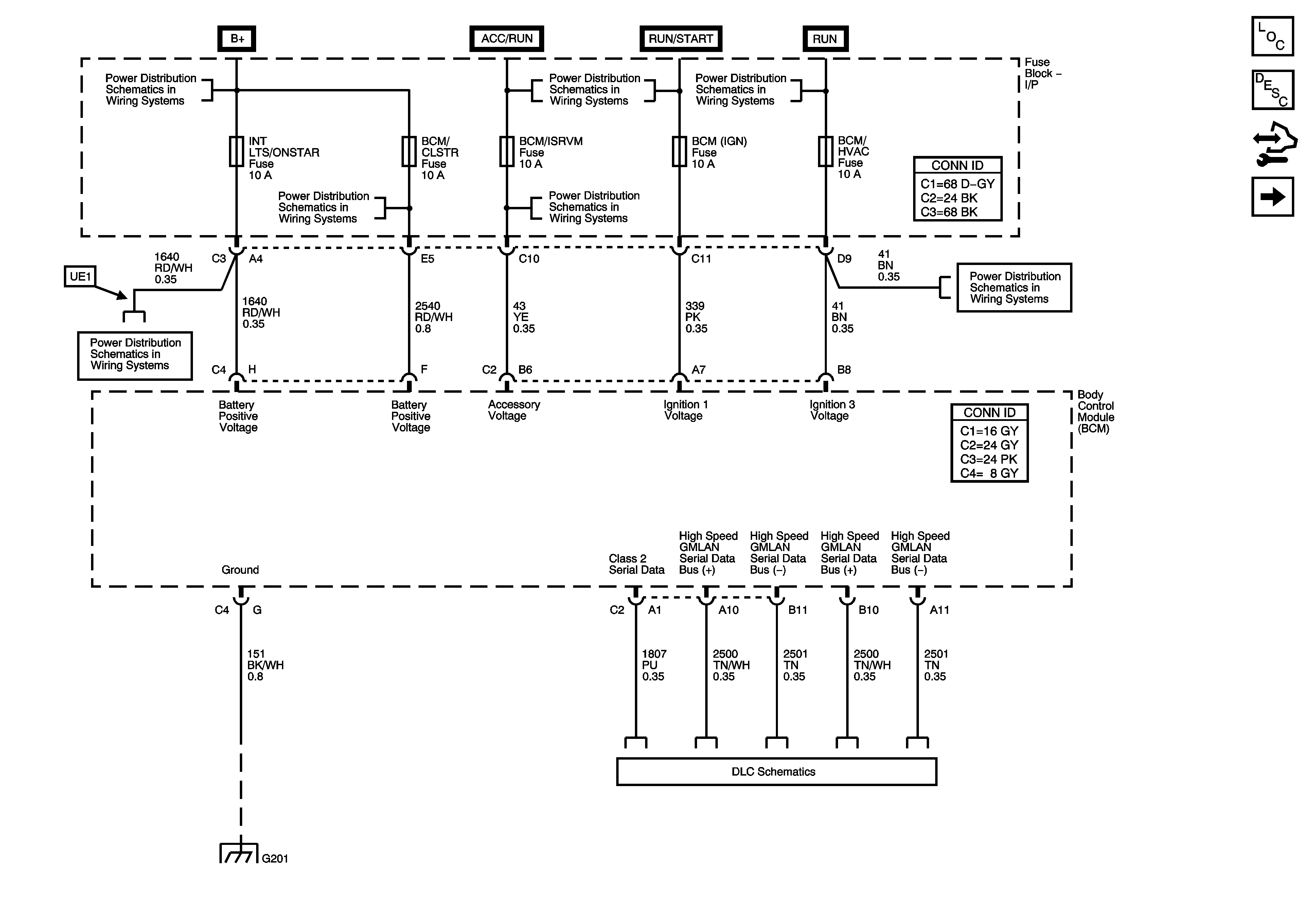
Figure 1:

Power, Ground, and Communication


Object Number: 1380947  Size: FS
Master Electrical Component List
Body Control System Description and Operation
Control Module References
Lighting and Wiper/Washer Subsystem References
POWER SEATS CB, LH HDLP, RH HDLP, HTD SEATS, BRAKE, PREMAUD AND BATT FEED FUSES
RADIO, BCM/CLSTR, INT LTS/ONSTAR, PARK, HZRD and LOCK/MIRROR Fuses
RADIO, BCM/CLSTR, INT LTS/ONSTAR, PARK, HZRD and LOCK/MIRROR Fuses
IGN FUSE, Ignition Switch and Ignition Circuits
TURN, PRNDL/PWR TRN, BCM/ISRVM, BCM/HVAC and HTD SEATS Fuses
TURN, PRNDL/PWR TRN, BCM/ISRVM, BCM/HVAC and HTD SEATS Fuses
TURN, PRNDL/PWR TRN, BCM/ISRVM, BCM/HVAC and HTD SEATS Fuses
Data Link Communication (DLC) Schematic
G201
Figure 2:

Lighting and Wiper/Washer System References


Object Number: 1380950  Size: FS
Master Electrical Component List
Body Control System Description and Operation
Control Module References
Controlled/Monitored Subsytem References
Power, Ground, and BCM Communication
Headlight/DRL Schematic
Park Lamps
Headlight/DRL Schematic
Interior Lights Schematic
Fog Lights Schematic
Headlight/DRL Schematic
Rear Wiper
Front Wiper
Interior Lights Dimming Schematic
Figure 3:

Controlled/Monitored Subsystem References


Object Number: 1380952  Size: FS
Master Electrical Component List
Body Control System Description and Operation
Control Module References
Lighting and Wiper/Washer Subsystem References
Door Latch Controls
Lock Switches, Ajar Signals
Theft Deterrent System Schematics
Body Rear End Schematic
Indicators, TC Switch
Blower Controls
Defogger Schematic
Actuators, Evaporator Temperature Sensor
Shift Lock Control Schematic
Hydraulic Brakes Schematic
Horn Schematic
PNP Switch, Transmission Range Indicator
Audible Warning Schematics