GM Service Manual Online
For 1990-2009 cars only
Makes
🢒
Pontiac
🢒
1998
🢒
Trans Sport Ext.
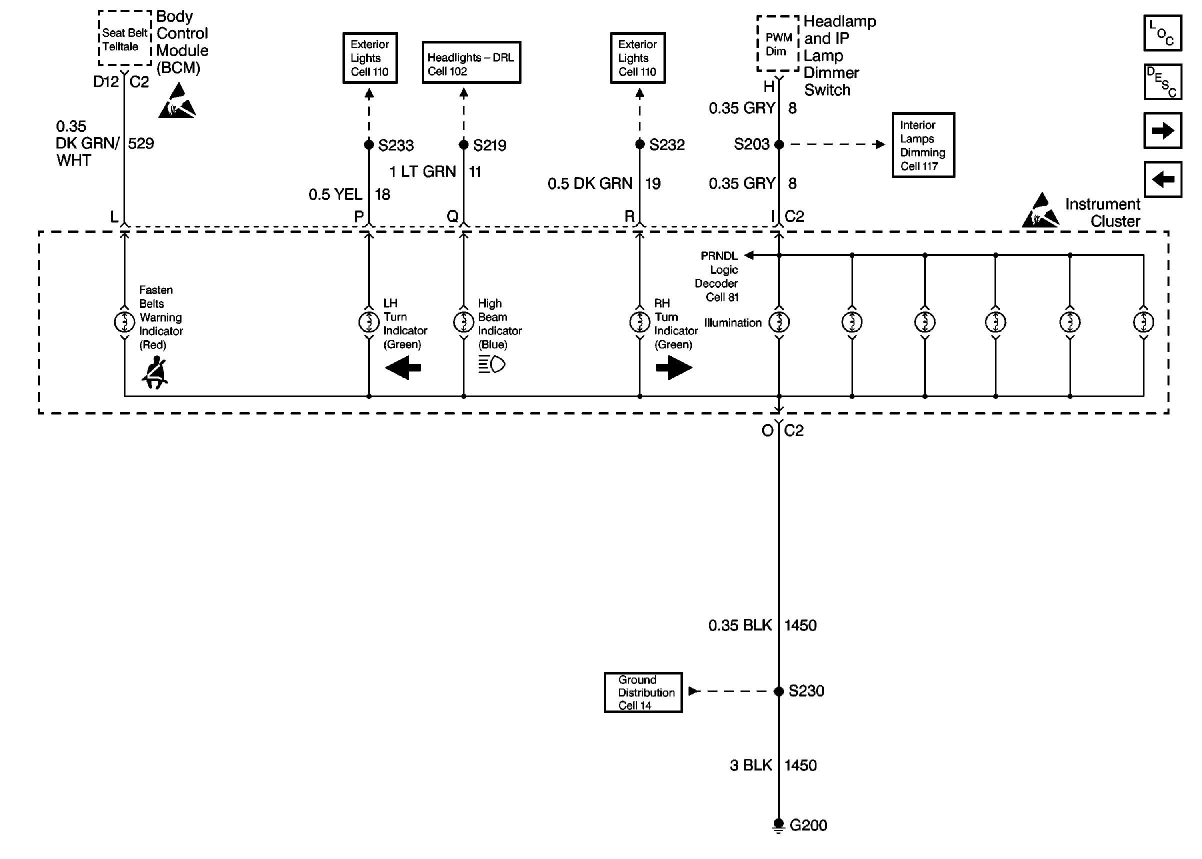
🢒 Cell 81: Headlamp and IP Lamp Dimmer Switch
Cell 81: Headlamp and IP Lamp Dimmer Switch
Cell 81: Headlamp and IP Lamp Dimmer Switch
Instrument Cluster Components
Instrument Cluster Circuit Description
Cell 81: Transaxle Range Switch
Cell 81: Malfunction Indicator Lamp TC Module
Handling ESD Sensitive Parts Notice
Handling ESD Sensitive Parts Notice
Cell 110: Taillamps, Side Markers, Park/Turn Lamps
Cell 110: Taillamps, Side Markers, Park/Turn Lamps
Cell 100: Headlamps
Cell 117: Heater-A/C Control, Radio Control Switches and InstrumeNt Cluster
Cell 81: Transaxle Range Switch
Cell 14: G200