GM Service Manual Online
For 1990-2009 cars only
Makes
🢒
Pontiac
🢒
2005
🢒
Wave
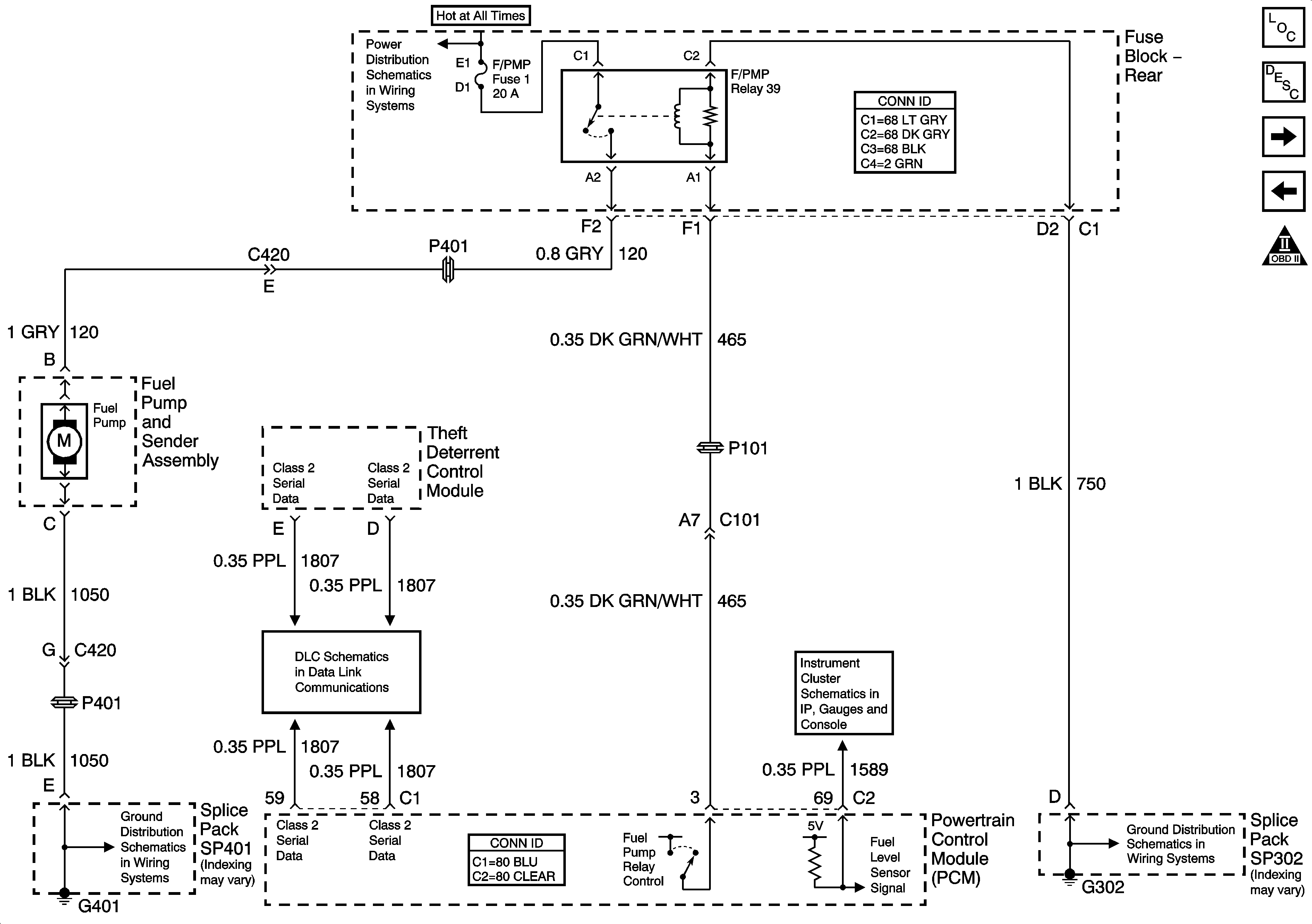
🢒 Fuel Pump Controls
Fuel Pump Controls
Fuel Pump Controls
Master Electrical Component List
Fuel System Description
Fuel Injectors
Ignition Controls
OBD II Symbol Description Notice
Rear Fuse Block B+ Bus
G401 - 1 of 2
Serial Data Class 2
PCM Signals - Speedometer, Tachometer, and Fuel Indicators
G302