GM Service Manual Online
For 1990-2009 cars only
Makes
🢒
Pontiac
🢒
2005
🢒
Wave
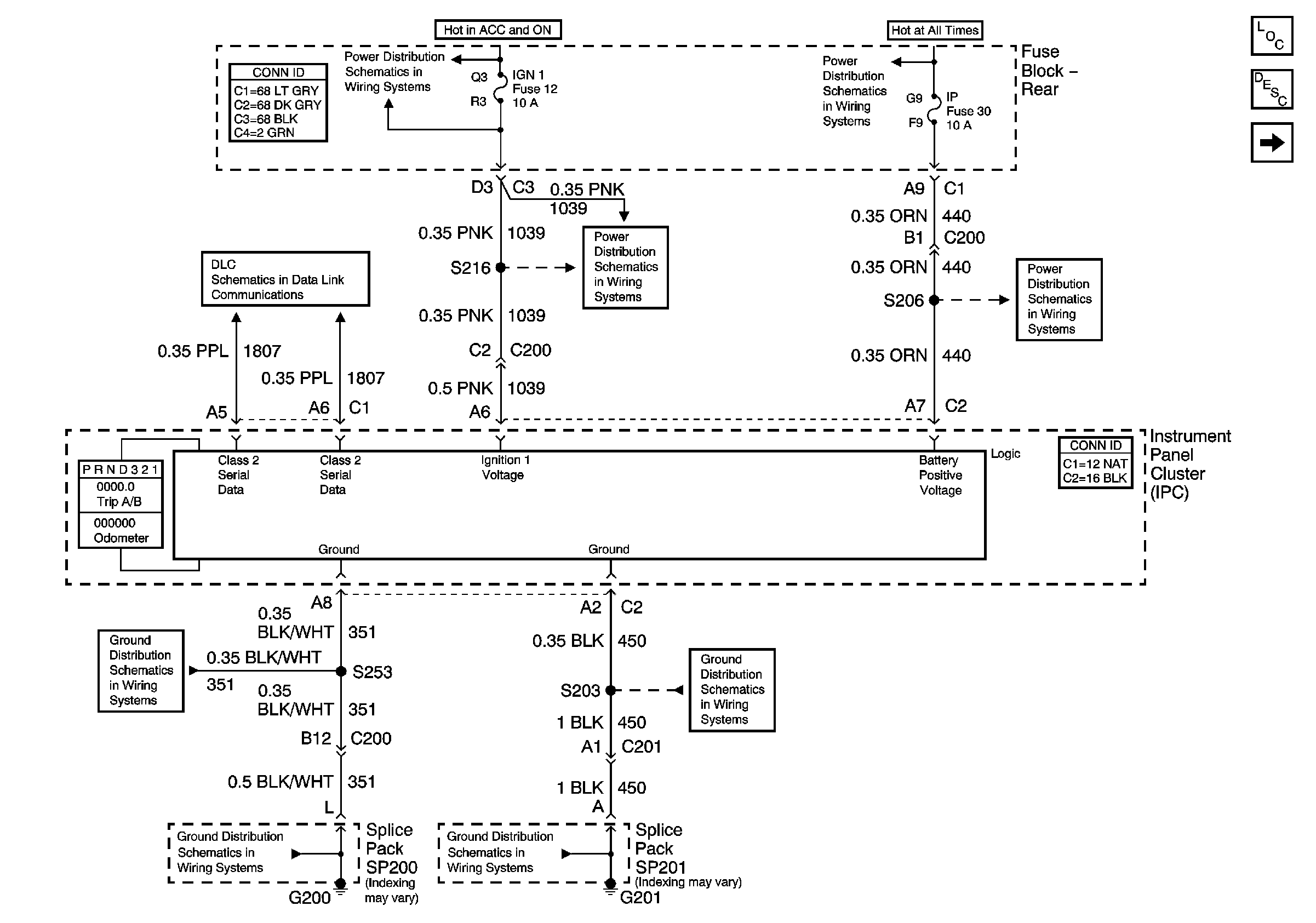
🢒 Power, Ground, and Class 2
Power, Ground, and Class 2
Power, Ground, and Class 2
Master Electrical Component List
Instrument Cluster Description and Operation
PCM Signals - Speedometer, Tachometer, and Fuel Indicators
IGN-1, VENT SOL, and SIR Fuses
I/P and CIGAR Fuses
Serial Data Class 2
IGN-1, VENT SOL, and SIR Fuses
I/P and CIGAR Fuses
G200
G200
G201 - 1 of 2
G201 - 1 of 2