GM Service Manual Online
For 1990-2009 cars only
Makes
🢒
Buick
🢒
2000
🢒
Regal (China)
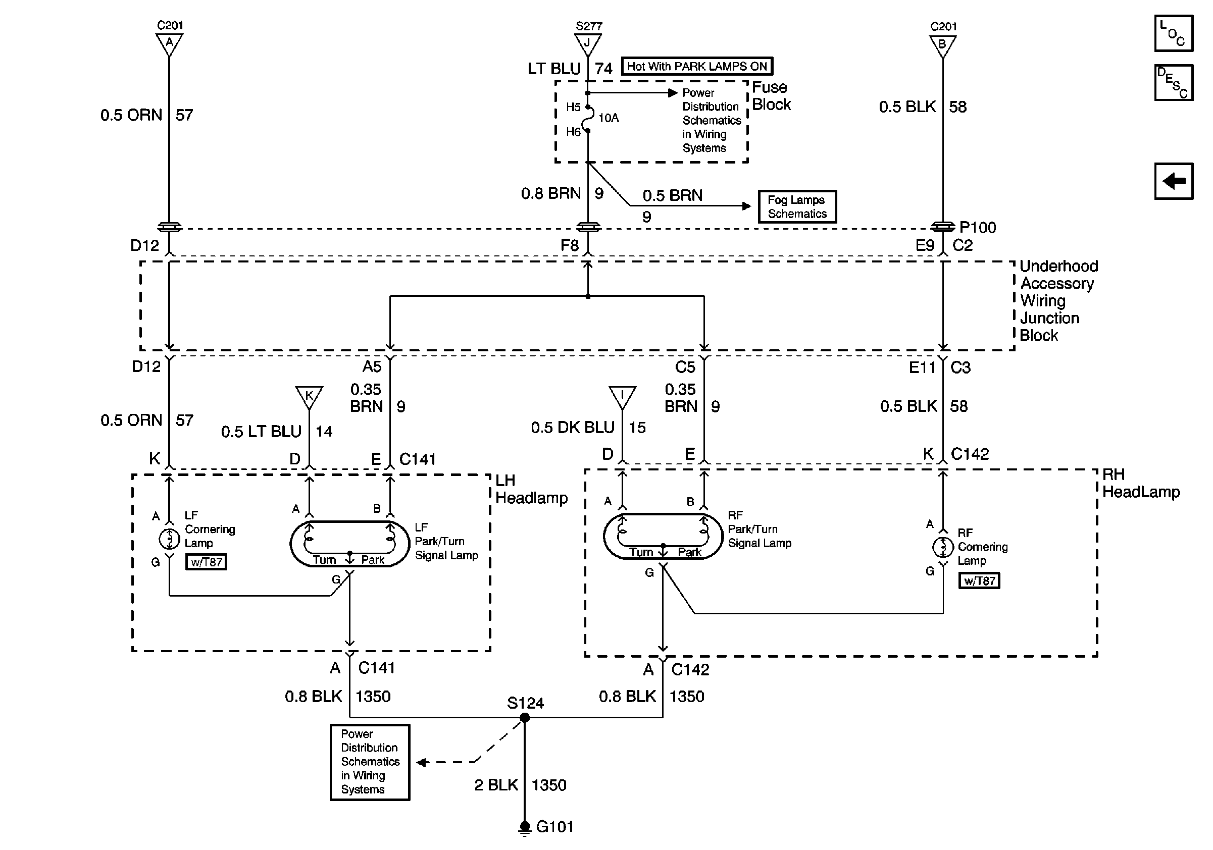
🢒 Front Park/Turn Signal Lamps and Cornering Lamps
Front Park/Turn Signal Lamps and Cornering Lamps
Front Park/Turn Signal Lamps and Cornering Lamps
Turn Signal Switch, Stop Lamp Switch, CHMSL, and Hazard Lamp/Turn SIGNAl FLAsher
Cluster, Headlamp Switch, Automatic Headlamp Control Module, Side Reapeater and Rear Turn Lamps
G101
Cluster, Headlamp Switch, Automatic Headlamp Control Module, Side Reapeater and Rear Turn Lamps
Cluster, Headlamp Switch, Automatic Headlamp Control Module, Side Reapeater and Rear Turn Lamps
Fuse Block, UAWJB Radio and Cluster
Front Fog Lamps, Fog Lamp Relay, Front Fog Lamp Switch and BCM
Turn Signal Switch, Stop Lamp Switch, CHMSL, and Hazard Lamp/Turn SIGNAl FLAsher
Lighting Systems Components
Exterior Lights Circuit Description
Tail/Stop and Rear License Lamps