GM Service Manual Online
For 1990-2009 cars only
Makes
🢒
Cadillac
🢒
2002
🢒
DeVille
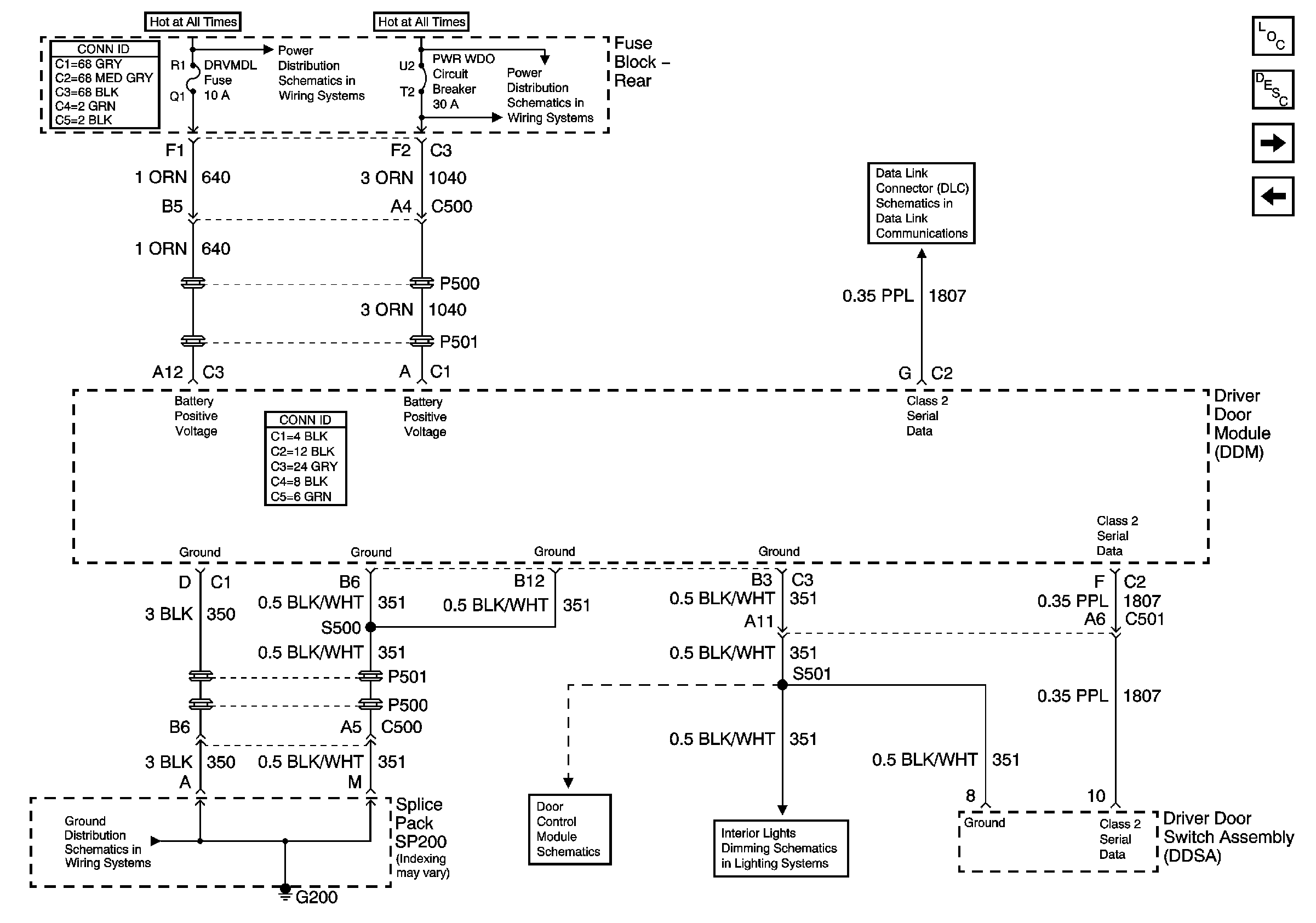
🢒 Driver Door Module (DDM) Power and Ground Input and Outputs 1 of 2
Driver Door Module (DDM) Power and Ground Input and Outputs 1 of 2
Driver Door Module (DDM) Power and Ground Input and Outputs 1 of 2
Master Electrical Component List
Power Door Locks Description and Operation
Driver Door Module (DDM) Power, Ground Inputs and Outputs 2 of 2
Driver Door Switch Assembly (DDSA) Internal Details w/Memory (A45)
HVAC BLO, DRV MDL, PASS MDL, PWR TT, HTDST LR, HTDST RR, HTDST RF, and DIM Fuses
PWR Window Circuit Breaker
Class 2 Serial Data (3 of 3)
G200
Driver Door Power Door Lock
Front Door Dimming
Memory Function Switch