GM Service Manual Online
For 1990-2009 cars only
Figure 1:

Module Power, Ground, Serial Data, and MIL


Object Number: 766079  Size: FS
Master Electrical Component List
Powertrain Control Module Description
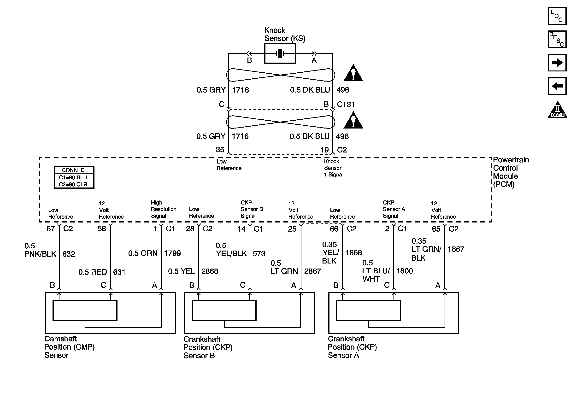
5 Volt and Low Reference Engine Data Sensors
OBD II Symbol Description Notice
G102
BATT 2 Fuse and Ignition Switch (2 of 2)
BATT 2 Fuse and Ignition Switch (2 of 2)
IGN 1, COOL FANS, AIR, BATT 1, and BRAKES Fuses
Power, Ground, and Class 2 (1 of 2)
Figure 2:

5 Volt and Low Reference Engine Data Sensors


Object Number: 786103  Size: FS
Master Electrical Component List
Powertrain Control Module Description
Pressure and Temperature Engine Data Sensors
Module Power, Ground, Serial Data, and MIL
OBD II Symbol Description Notice
Figure 3:

Pressure and Temperature Engine Data Sensors


Object Number: 766088  Size: FS
Master Electrical Component List
Powertrain Control Module Description
MAF, VSS, and Extended Brake Travel Switch Engine Data Sensors
5 Volt and Low Reference Engine Data Sensors
OBD II Symbol Description Notice
Figure 4:

MAF, VSS, and Extended Brake Travel Switch Engine Data Sensors


Object Number: 766093  Size: FS
Master Electrical Component List
Powertrain Control Module Description
Heated Oxygen Sensors
Pressure and Temperature Engine Data Sensors
OBD II Symbol Description Notice
BATT 2 Fuse and Ignition Switch (2 of 2)
OXY SEN 1, OXY SEN 2, FUEL PUMP, ECS Fuses and FUEL PUMP Relay
G102
Stoplamp Switch and Automatic Transaxle Solenoids
Transmission Range Switch Signals and VSS
Gages and MIL
Figure 5:

Heated Oxygen Sensors


Object Number: 766090  Size: FS
Master Electrical Component List
Powertrain Control Module Description
Ignition System Controls
MAF, VSS, and Extended Brake Travel Switch Engine Data Sensors
OBD II Symbol Description Notice
OXY SEN 1, OXY SEN 2, FUEL PUMP, ECS Fuses and FUEL PUMP Relay
OXY SEN 1, OXY SEN 2, FUEL PUMP, ECS Fuses and FUEL PUMP Relay
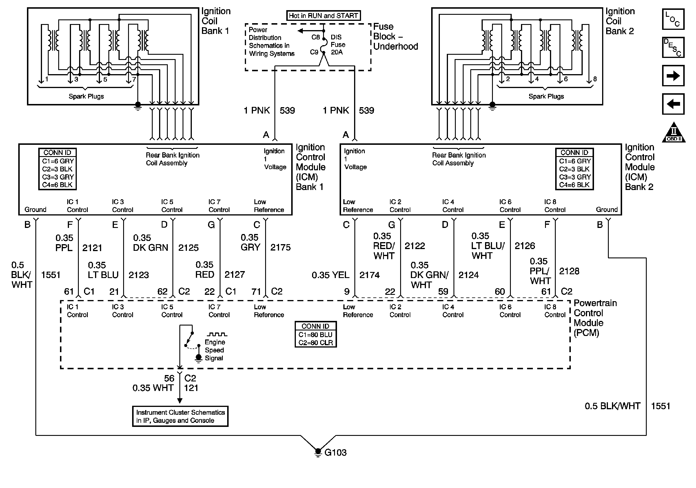
Figure 6:

Ignition System Controls


Object Number: 766084  Size: FS
Master Electrical Component List
Electronic Ignition (EI) System Description
Ignition Controls Sensors
Heated Oxygen Sensors
OBD II Symbol Description Notice
BATT 2 Fuse and Ignition Switch (2 of 2)
Gages and MIL
Figure 7:

Ignition Controls Sensors


Object Number: 766082  Size: FS
Master Electrical Component List
Electronic Ignition (EI) System Description
Fuel Pump Controls
Ignition System Controls
OBD II Symbol Description Notice
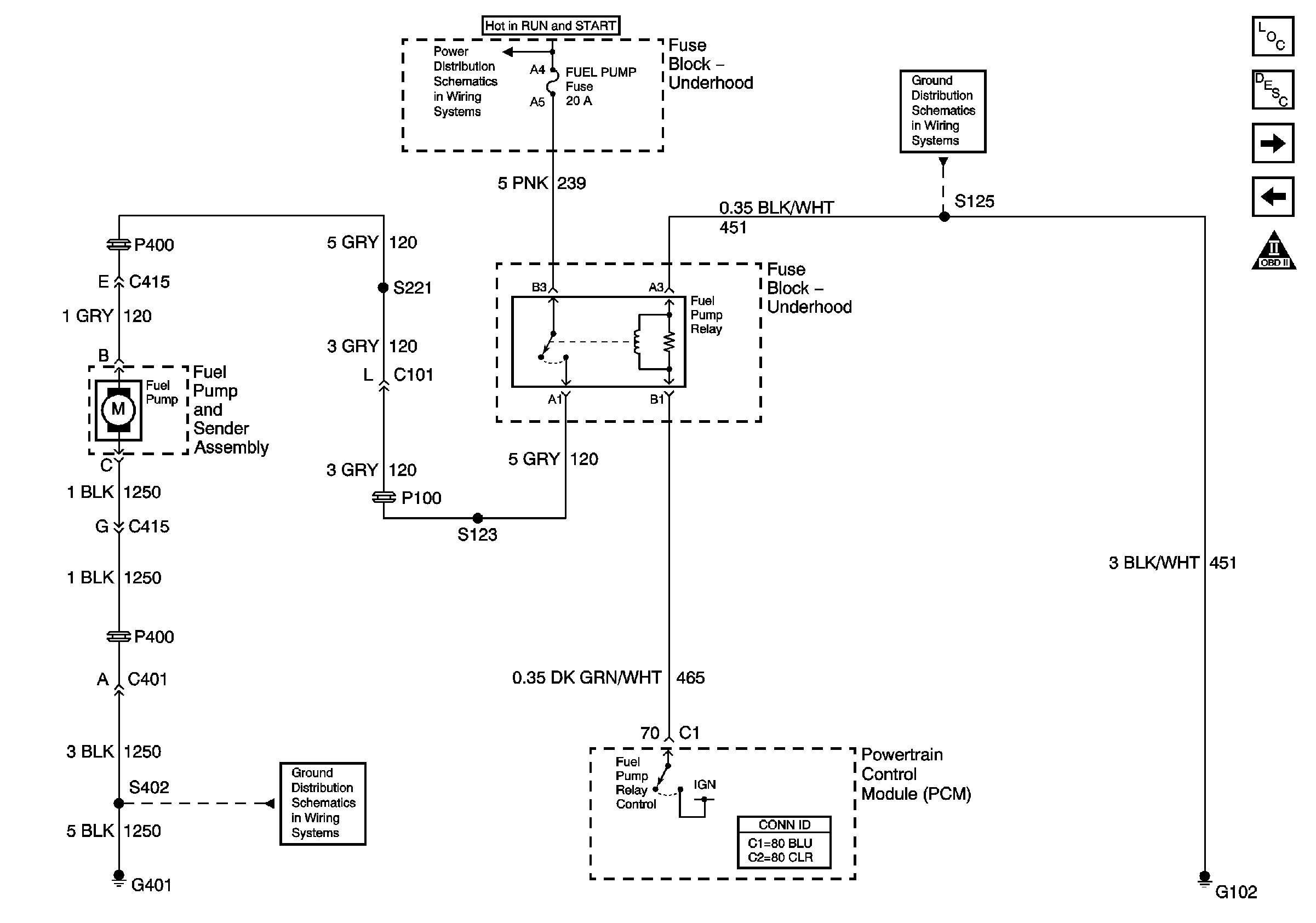
Figure 8:

Fuel Pump Controls


Object Number: 766086  Size: FS
Master Electrical Component List
Fuel System Description
Fuel Injectors
Ignition Controls Sensors
OBD II Symbol Description Notice
G401 (1 of 2)
IGN 1, COOL FANS, AIR, BATT 1, and BRAKES Fuses
G102
Figure 9:

Fuel Injectors


Object Number: 766087  Size: FS
Master Electrical Component List
Fuel System Description
EVAP Controls and Fuel Tank Pressure Sensor
Fuel Pump Controls
OBD II Symbol Description Notice
Figure 10:

EVAP Controls and Fuel Tank Pressure Sensor


Object Number: 785442  Size: FS
Master Electrical Component List
Fuel System Description
Device Controls
Fuel Injectors
OBD II Symbol Description Notice
BATT 2 Fuse and Ignition Switch (2 of 2)
BATT 2 Fuse and Ignition Switch (2 of 2)
OXY SEN 1, OXY SEN 2, FUEL PUMP, ECS Fuses and FUEL PUMP Relay
ABS and IGN 1 Fuses
Figure 11:

Device Controls


Object Number: 766094  Size: FS
Master Electrical Component List
Exhaust Gas Recirculation (EGR) System Description
Controlled/Monitored Subsystem References
EVAP Controls and Fuel Tank Pressure Sensor
OBD II Symbol Description Notice
BATT 2 Fuse and Ignition Switch (2 of 2)
Battery Feeds
OXY SEN 1, OXY SEN 2, FUEL PUMP, ECS Fuses and FUEL PUMP Relay
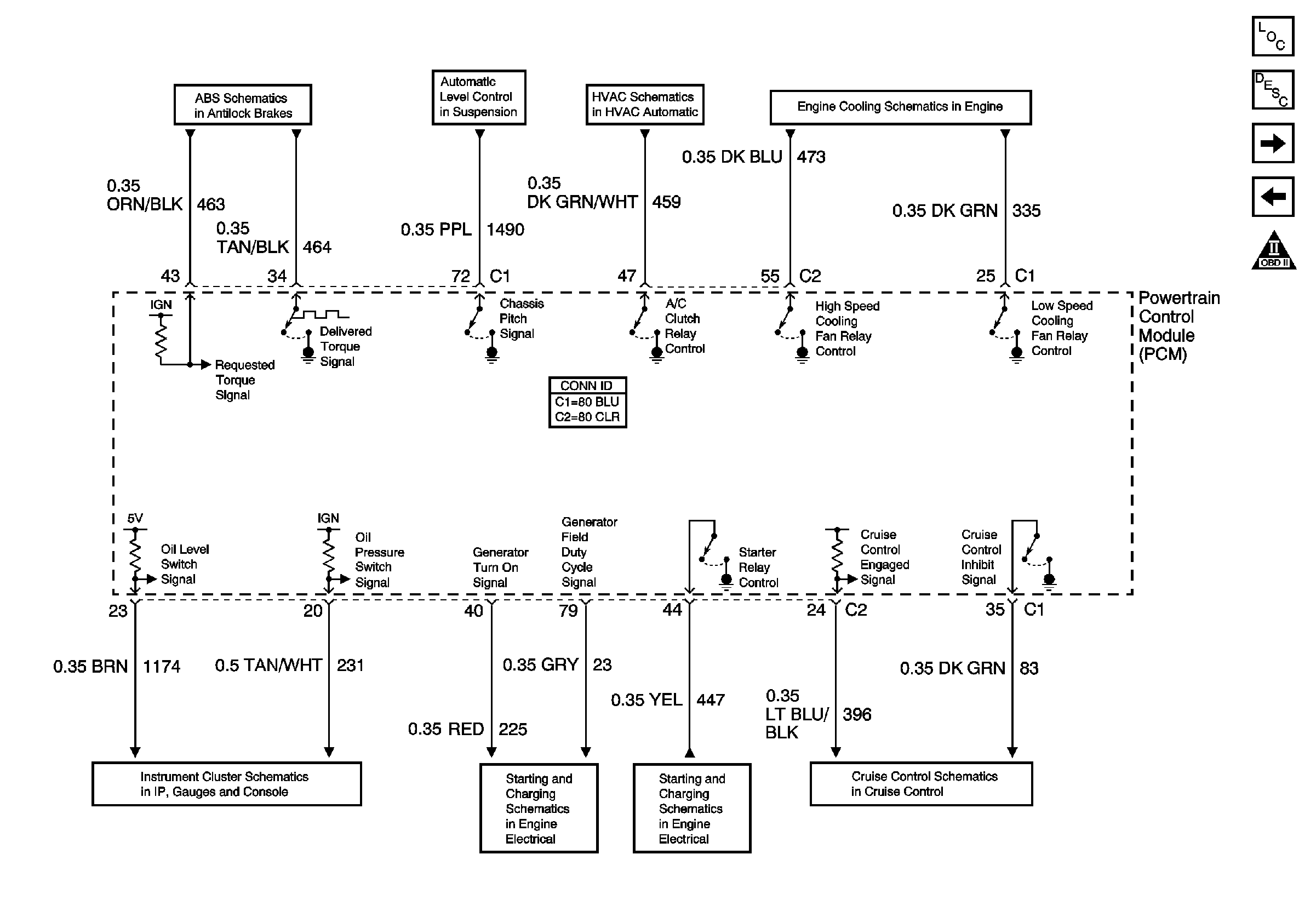
Figure 12:

Controlled/Monitored Subsystem References


Object Number: 766096  Size: FS
Master Electrical Component List
Powertrain Control Module Description
Automatic Transmission Controls
Device Controls
OBD II Symbol Description Notice
Suspension Inputs, Class 2, Traction Control, and Variable Effort Steering
Compressor (w/F45)
Compressor Control Pressure Switch
Engine Cooling
Gages and MIL
Generator
Starter Solenoid Controls
Cruise Control ON/OFF Switch
Figure 13:

Automatic Transmission Controls


Object Number: 766098  Size: FS
Master Electrical Component List
Powertrain Control Module Description
Controlled/Monitored Subsystem References
OBD II Symbol Description Notice
Stoplamp Switch and Automatic Transaxle Solenoids
Transmission Range Switch Signals and VSS
Automatic Transaxle Sensors