GM Service Manual Online
For 1990-2009 cars only
Makes
🢒
Cadillac
🢒
2002
🢒
Escalade EXT
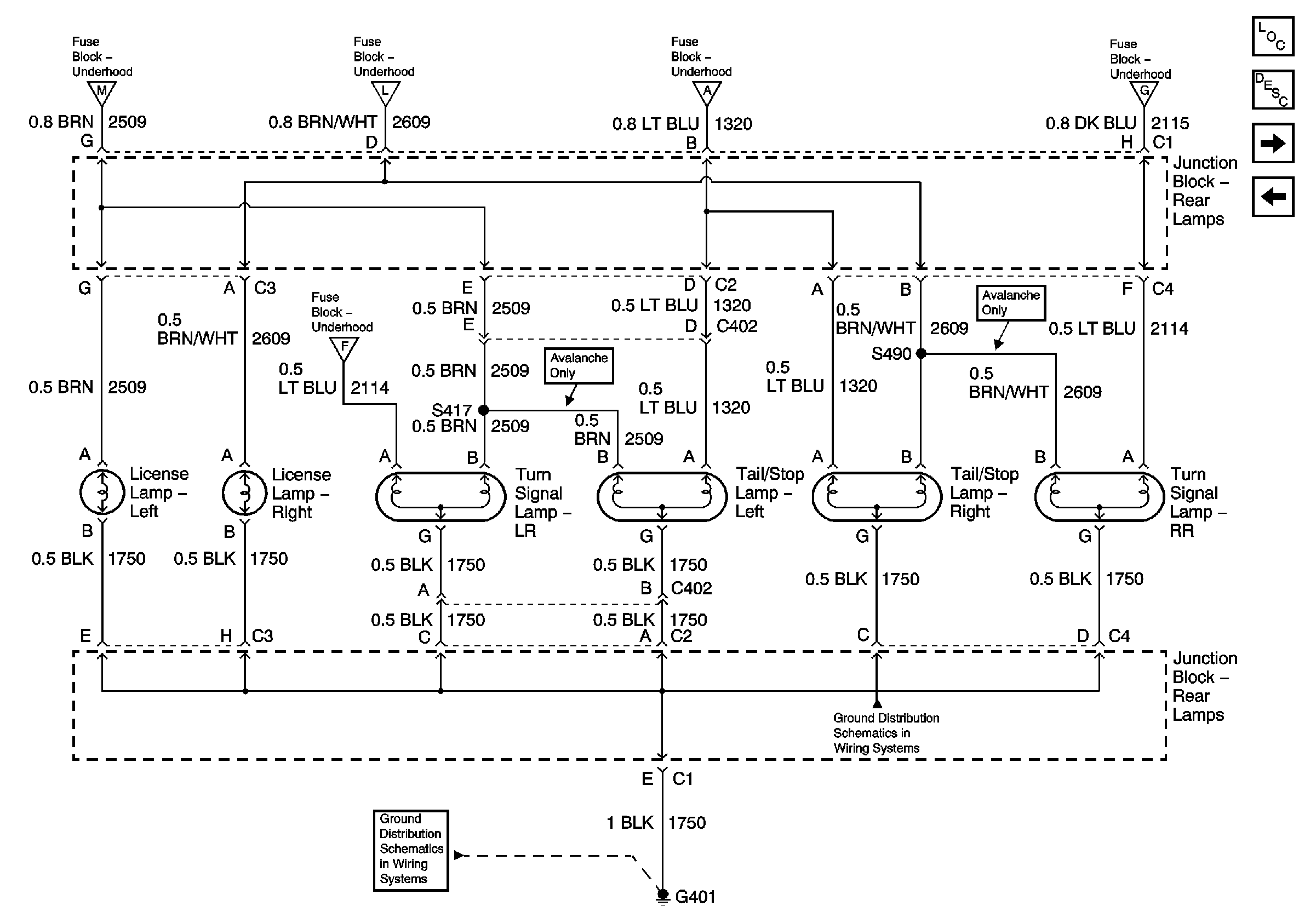
🢒 Rear Lamps
Rear Lamps
Rear Lamps
Master Electrical Component List
Exterior Lighting Systems Description and Operation
Backup Lamps
CHMSL Control - Avalanche
Park Lamp Control
Park Lamp Control
Hazard Flasher, Turn Signal, and Stop Lamp Control
Park/Turn Signal Lamps
Park/Turn Signal Lamps
G401 - Avalanche Built Before July 16, 2001 and 4WD Escalade
G401 - Avalanche Built Before July 16, 2001 and 4WD Escalade