GM Service Manual Online
For 1990-2009 cars only
Makes
🢒
Cadillac
🢒
2007
🢒
Escalade EXT
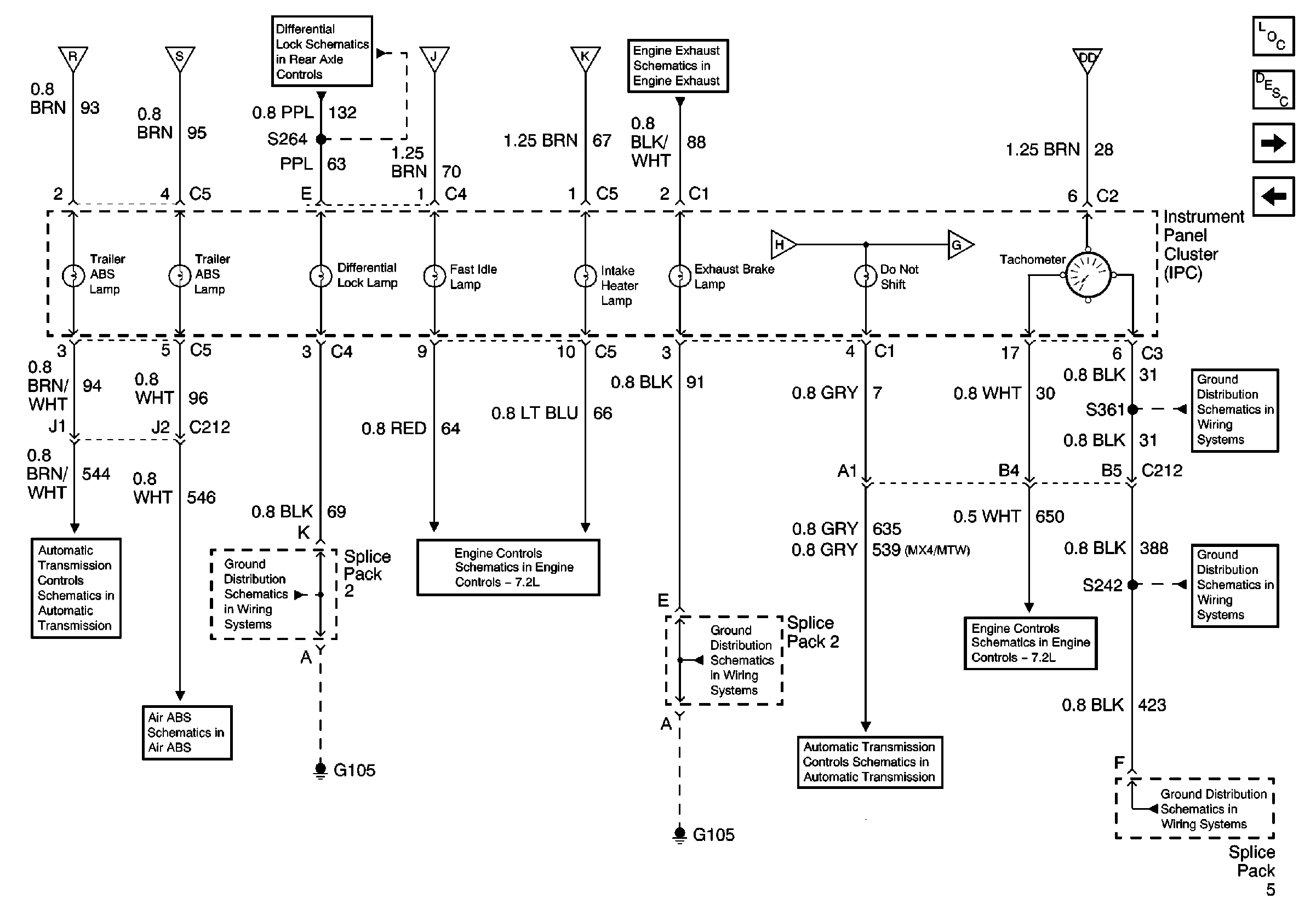
🢒 Trailer ABS, Differential Lock, Fast Idle, Intake Heater, Exhaust Brake, Do Not Shift Lamps and Tachometer (LG5)
Trailer ABS, Differential Lock, Fast Idle, Intake Heater, Exhaust Brake, Do Not Shift Lamps and Tachometer (LG5)
Trailer ABS, Differential Lock, Fast Idle, Intake Heater, Exhaust Brake, Do Not Shift Lamps and Tachometer (LG5)
Master Electrical Component List
Indicator/Warning Message Description and Operation
Aux Brake, Apply Park Brake, RH Turn, LH Turn, Service Park Brake Lamps and Hourmeter
Fuel, Temperature, Oil Pressure and Check Gauges (LG5)
Fuse Voltage Supply
Fuse Voltage Supply
Differential Lock Schematics
Fuse Voltage Supply
Fuse Voltage Supply
LG5
Fuse Voltage Supply
Power and Ground, MIL (MX4)
ABS Indicator Relay, EBCM
G105 Continued, Splice Pack 2
Instrument Panel Cluster
Air Intake Heater, Indicators
G105 Continued, Splice Pack 2
Power and Ground, MIL (MX4)
Instrument Panel Cluster
G105 Continued, Splice Pack 5, S242
G105 Continued, Splice Pack 5, S242
G105 Continued, Splice Pack 3, S361
Fuel, Temperature, Oil Pressure and Check Gauges (LG5)
DRL, Service Trans Filter, Low Coolant, Oil Filter, Bat, High Beam and Service Engine Soon Lamps