GM Service Manual Online
For 1990-2009 cars only
Makes
🢒
Cadillac
🢒
2007
🢒
Escalade EXT
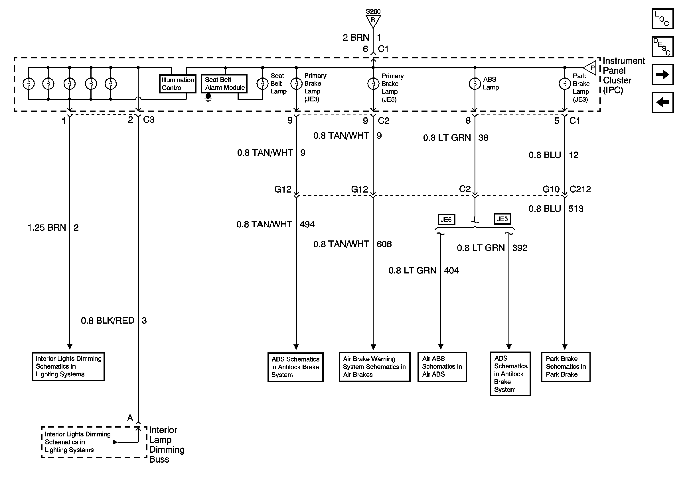
🢒 Isuzu IPC System Schematics - Seat Belt, Prim BRK, ABS, PRK BRK Lamps
Isuzu IPC System Schematics - Seat Belt, Prim BRK, ABS, PRK BRK Lamps
Illumination, Seat Belt, Primary Brake, ABS and Park Brake Lamps
Master Electrical Component List
Instrument Cluster Description and Operation
Isuzu IPC System Schematics - Aux BRK, RH and LH Turn, APP PRK BRK LPS
Isuzu IPC System Schematics - DRL, Serv, Trans, Low Cool, BAT,HBeam LP
Isuzu IPC System Schematics - IPC Power Distribution
Lighting System Schematics - Instrument Panel Lighting
Lighting System Schematics - Instrument Panel Lighting
ABS Schematics - Stop Lamp SW Inteface Module, EBCM, Brake Fluid SW
Air Brakes Schematics - Low Air Pressure Switch, MAM, I/P Cluster
02 MD-540 Air ABS Schematics - ABS Ind Rly, Stop Lamp SW Interface Module, IPC, PCM
ABS Schematics - EBCM, ABS Indicator RLY, I/P Cluster
Park Brake Schematics - Park Brake Control Module, Park BRK Press Sen