GM Service Manual Online
For 1990-2009 cars only

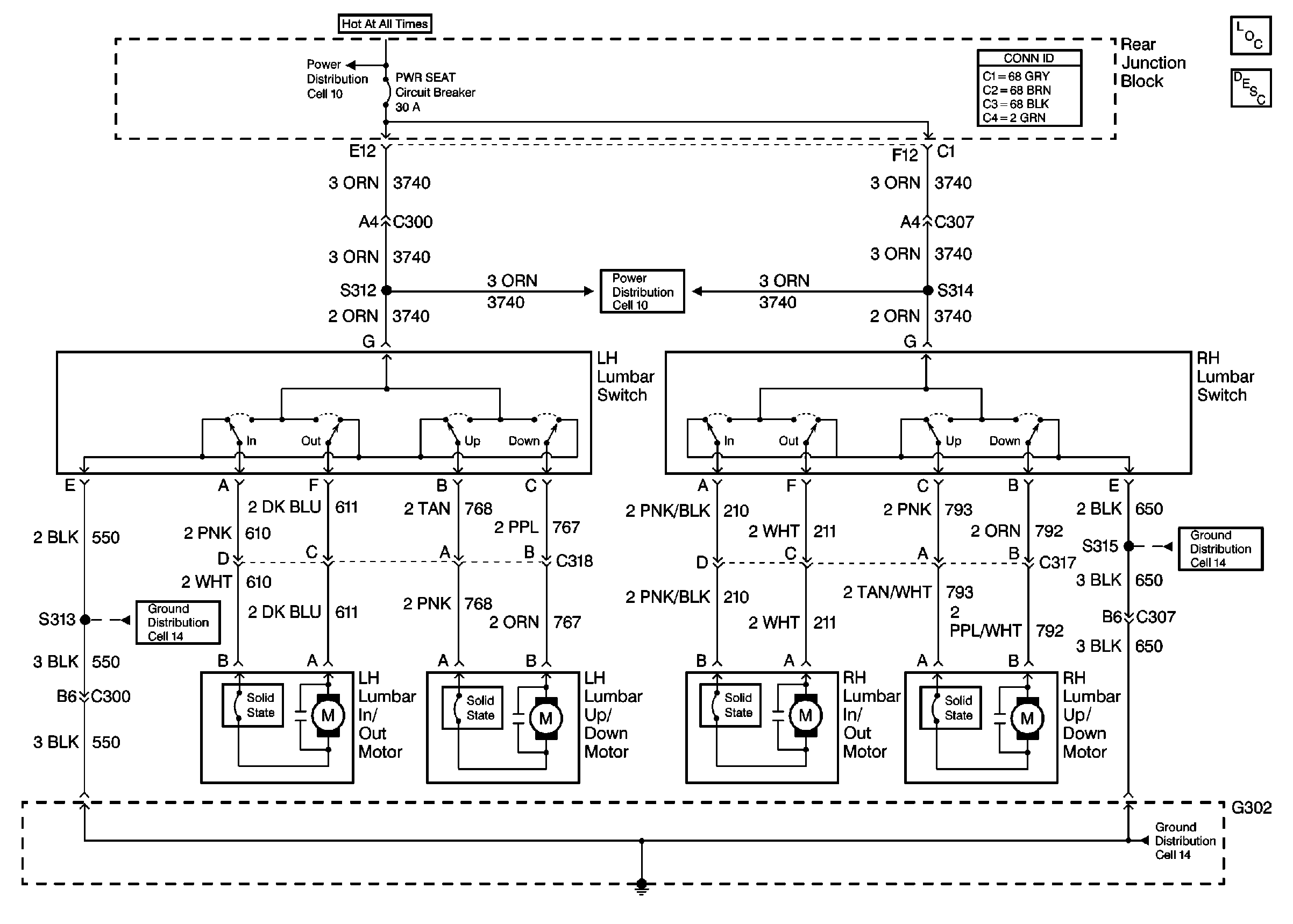
Lumbar Support Schematics AL2

Cell 142


Object Number: 141873  Size: FS
Power Seat Systems Components
Power Lumbar Circuit Description AL2
Cell 10: PWR WDO and PWR SEAT Circuit Breakers
Cell 14: G302
Cell 14: G302
Cell 14: G302
Cell 10: PWR WDO and PWR SEAT Circuit Breakers
Power and Grounding Connector End Views

Lumbar Support Schematics AC9

Figure 1:

Cell 142: Left Adaptive Seat


Object Number: 141874  Size: FS
Power Seat Systems Components
Power Lumbar Circuit Description AC9
Cell 142: Right Adaptive Seat
Handling ESD Sensitive Parts Notice
Power Distribution Schematics
Cell 14: G302
Cell 14: G302
Cell 49 - Power, Ground, Switch, Sensors and Motors
Cell 141: PWR, GND, LH Seat Switch, and MSM
Cell 142: Right Adaptive Seat
Cell 142: Right Adaptive Seat
Power and Grounding Connector End Views
Figure 2:

Cell 142: Right Adaptive Seat


Object Number: 141875  Size: FS
Power Seat Systems Components
Power Lumbar Circuit Description AC9
Cell 142: Left Adaptive Seat
Handling ESD Sensitive Parts Notice
Cell 14: G302
Cell 14: G302
Cell 142: Left Adaptive Seat
Cell 142: Left Adaptive Seat

Lumbar Support Schematics A45

Cell 142


Object Number: 141876  Size: FS
Power Seat Systems Components
Power Lumbar Circuit Description A45
Handling ESD Sensitive Parts Notice
Handling ESD Sensitive Parts Notice
Cell 10: MEM T/T, PWWR T/T, and TSIG/HAZ Fuses
Cell 10: MEM T/T, PWWR T/T, and TSIG/HAZ Fuses
Cell 141: Front Height, Rear Height, Forward/Back Motors and Position Sensors
Cell 141: Front Height, Rear Height, Forward/Back Motors and Position Sensors
Cell 141: PWR, GND, LH Seat Switch, and MSM
Power and Grounding Connector End Views
Power Seat Connector End Views