GM Service Manual Online
For 1990-2009 cars only

Refer to

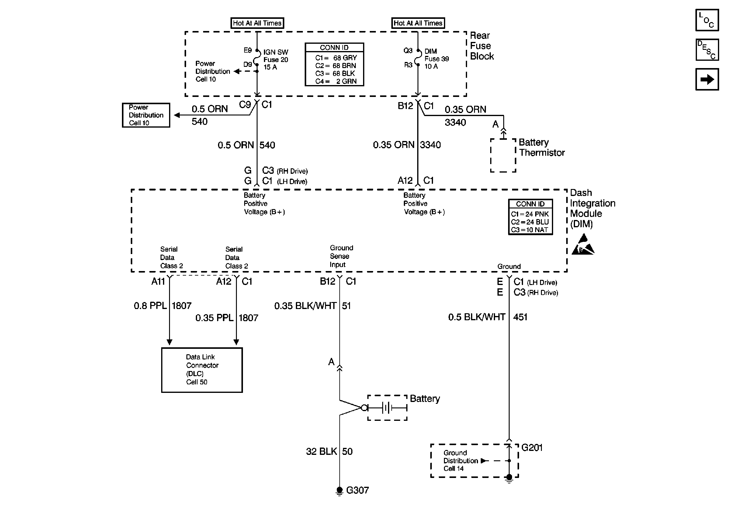
Cell 51: DIM Power and Ground


Object Number: 383449  Size: FS
Cell 10: IGN, SW, HTDST LR, HTDST RR, and HTDST RF Fuses
Body Control Module Components
Body Control System Circuit Description
Cell 51: DIM Ignition Inputs
Cell 50: Class 2 Serial Data Line (LH Drive)
Cell 14: G201 (1 of 3)
and

Cell 51: DIM Inputs and Outputs (2 of 2)


Object Number: 154532  Size: FS
Steering Wheel Controls Schematics
Horn Schematics
Theft Deterrent System Schematics
Wiper/Washer System (Pulse) Schematics
Interior Lights Dimming Schematics
Cell 67
Body Control Module Components
Body Control System Circuit Description
Cell 51: IPM Power and Ground
Cell 51: DIM Inputs and Outputs (1 of 2)
Handling ESD Sensitive Parts Notice
.

Circuit Description

    • The dash integration module (DIM), battery positive voltage (B+) is supplied to the DIM on CKT 540 (ORN) at connector C1 terminal G. The DIM monitors this voltage to determine if it is within a valid operating range.
    • The instrument panel integration module (IPM), battery positive voltage (B+) is supplied to the IPM at connector C1, terminal C1, CKT 440 (ORN). The IPM monitors battery voltage sent by Class 2 message by the DIM to determine if it is within a valid operating range.

Conditions for Setting the DTC

The battery positive voltage (B+) level rises above 15.5 volts for more than approximately 1 seconds.

Action Taken When the DTC Sets

    • DTC B1982 is stored in the module memory.
    • The module will not respond to inputs when DTC B1982 is current.
    • No driver warning message is displayed for this DTC.
    • The module will not set DTCs when DTC B1982 is current.

Conditions for Clearing the DTC

    • A current DTC clears (status changes from current to history) if the battery positive voltage (B+) level falls below 15 volts for approximately 1 seconds.
    • A history DTC clears after 50 consecutive ignition cycles if the condition for the malfunction is no longer present.

Diagnostic Aids

This DTC may set when the vehicle is placed on a battery charger, on fast or boost charge.

Step

Action

Value(s)

Yes

No

1

Was the Body Control Module Diagnostic System Check performed?

--

Go to Step 2

Go to the Diagnostic System Check - Body Control System

2

  1. Turn ON the ignition switch.
  2. Clear DTC's.
  3. Turn OFF the ignition switch.
  4. Turn ON the ignition switch, engine running.
  5. Check for DTC's

Is the DTC still present?

--

Go to Step 4

Go to Step 3

3

Did more than one module have a voltage high DTC prior to clearing?

--

Go to Charging System Check in Engine Electrical

Go to Step 9

4

Is the DTC only set in the instrument panel integration module (IPM)?

--

Go to Step 8

Go to Step 5

5

  1. Turn ON the ignition switch.
  2. Connect a scan tool.
  3. Select DATA from the DATA LIST of dash integration module (DIM).

Is the voltage less than the specified value?

15.5 V

Go to Step 7

Go to Step 6

6

  1. Turn OFF the ignition switch.
  2. Disconnect the DIM connector C1.
  3. Turn ON the ignition switch, engine running.
  4. Measure the voltage from the DIM connector C1 terminal G to ground.

Is the voltage less than the specified value?

15.5 V

Go to Step 7

Go to Charging System Check in Engine Electrical

7

Replace the DIM.

Is the repair complete?

--

Go to Step 9

--

8

Replace the IPM.

Is the repair complete?

--

Go to Step 9

--

9

  1. Turn OFF the ignition switch.
  2. Reconnect or install any connectors or components that were disconnected or removed.
  3. Turn ON the ignition switch.
  4. Clear any DTCs.

Are all DTCs cleared?

--

Go to the Diagnostic System Check - Body Control System

--