GM Service Manual Online
For 1990-2009 cars only
Makes
🢒
Cadillac
🢒
2000
🢒
Seville
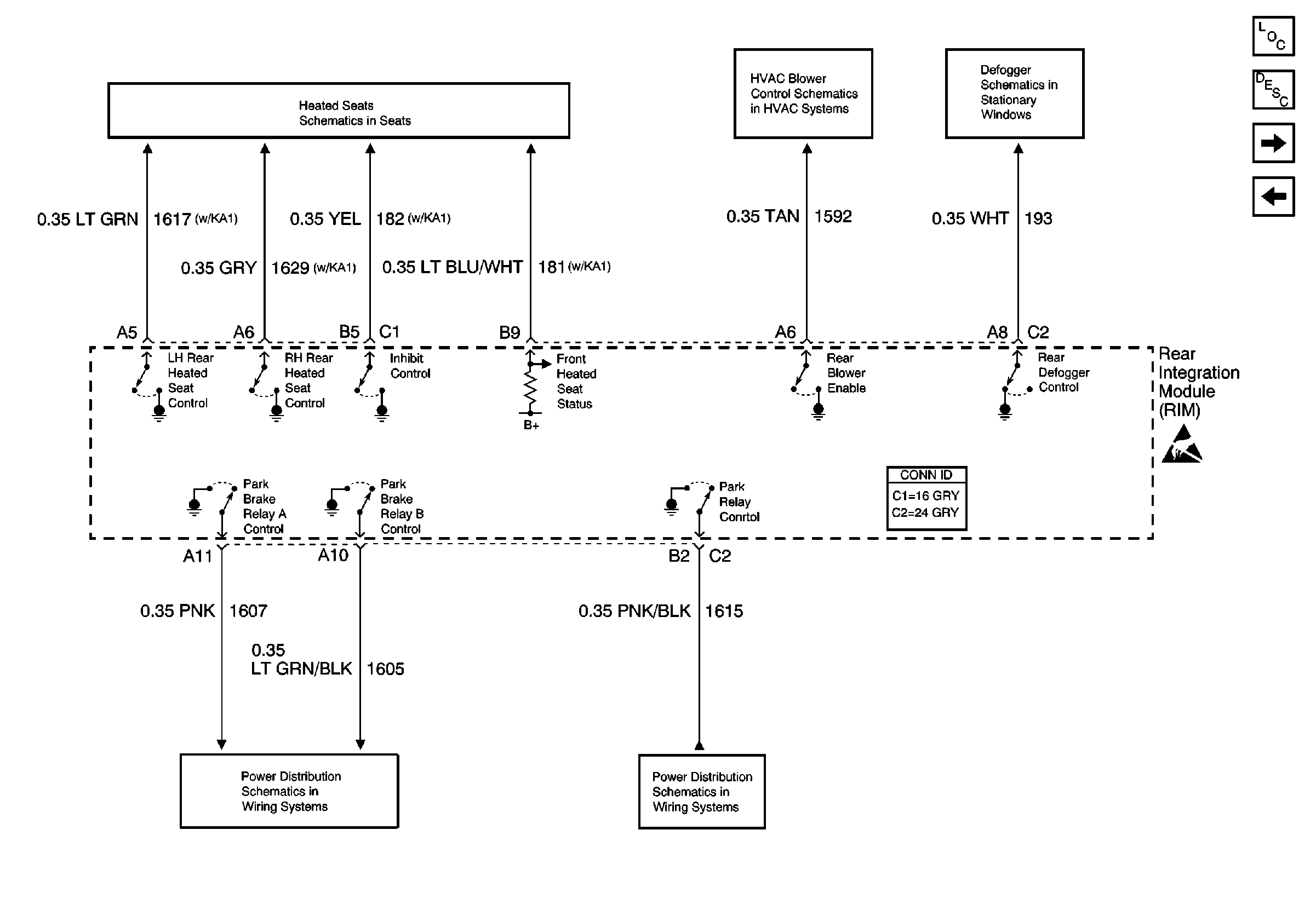
🢒 RIM Inputs and Outputs 2 of 2
RIM Inputs and Outputs 2 of 2
RIM Inputs and Outputs 2 of 2
Body Control Module Components
Body Control System Circuit Description
RIM Inputs and Outputs 1 of 2
LH Front Heated Seat
Rear
Defogger
Handling ESD Sensitive Parts Notice
NSBU, F/PMP, CVRTD and BODY Fuses
RR Blo, RR Defog, PRK BRK, ELC Fuses