GM Service Manual Online
For 1990-2009 cars only
Makes
🢒
Cadillac
🢒
2000
🢒
Seville
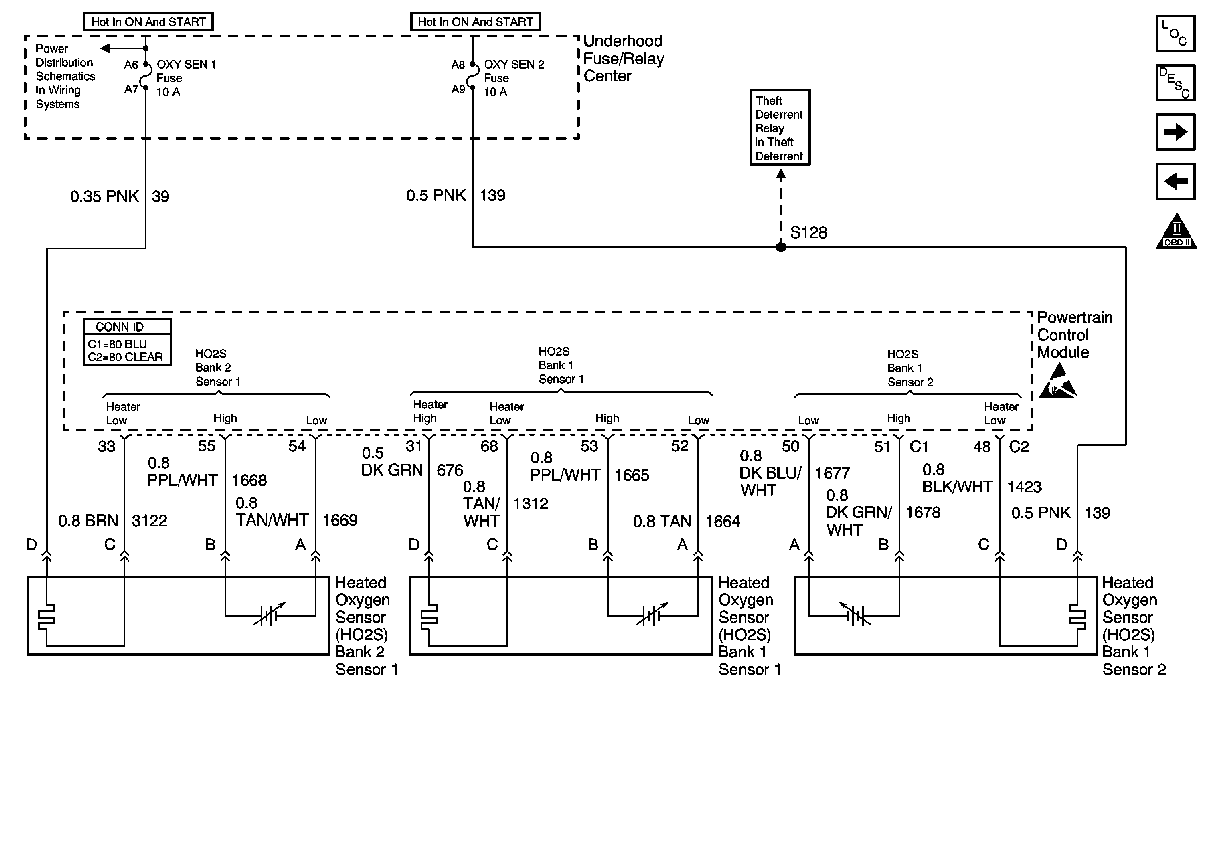
🢒 Heated Oxygen Sensors
Heated Oxygen Sensors
Heated Oxygen Sensors
Engine Controls Components
Information Sensors/Switches Description
MAF Sensor, EVAP Components and EGR Valve
Fuel Injectors
OBD II Symbol Description Notice
OXY SEN 1, OXY SEN 2, FUEL PUMP, ECS Fuses and FUEL PUMP Relay
Pass-Key® II
Handling ESD Sensitive Parts Notice