GM Service Manual Online
For 1990-2009 cars only
Makes
🢒
Cadillac
🢒
2000
🢒
Seville
🢒 Door Jamb Switches
Door Jamb Switches
Door Jamb Switches
Instrument Cluster Components
Instrument Cluster Circuit Description
Handling ESD Sensitive Parts Notice
MIL, TAC, VSS and ABS
Coolant, Brake Fluid, Park Brake
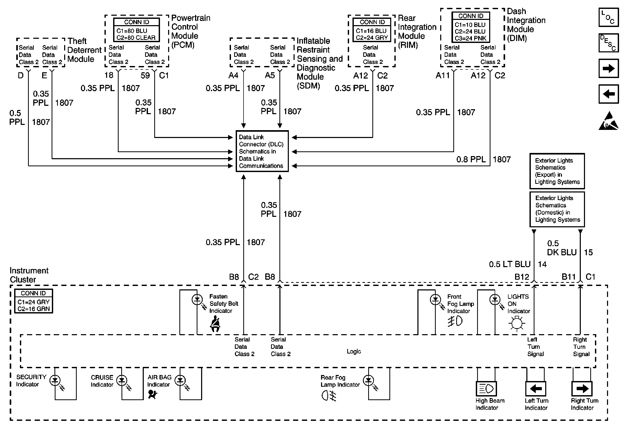
Class 2 Serial Data Line (LH Drive)
RH Exterior Lamps
RH Exterior Lamps