GM Service Manual Online
For 1990-2009 cars only
Makes
🢒
Cadillac
🢒
2001
🢒
Seville
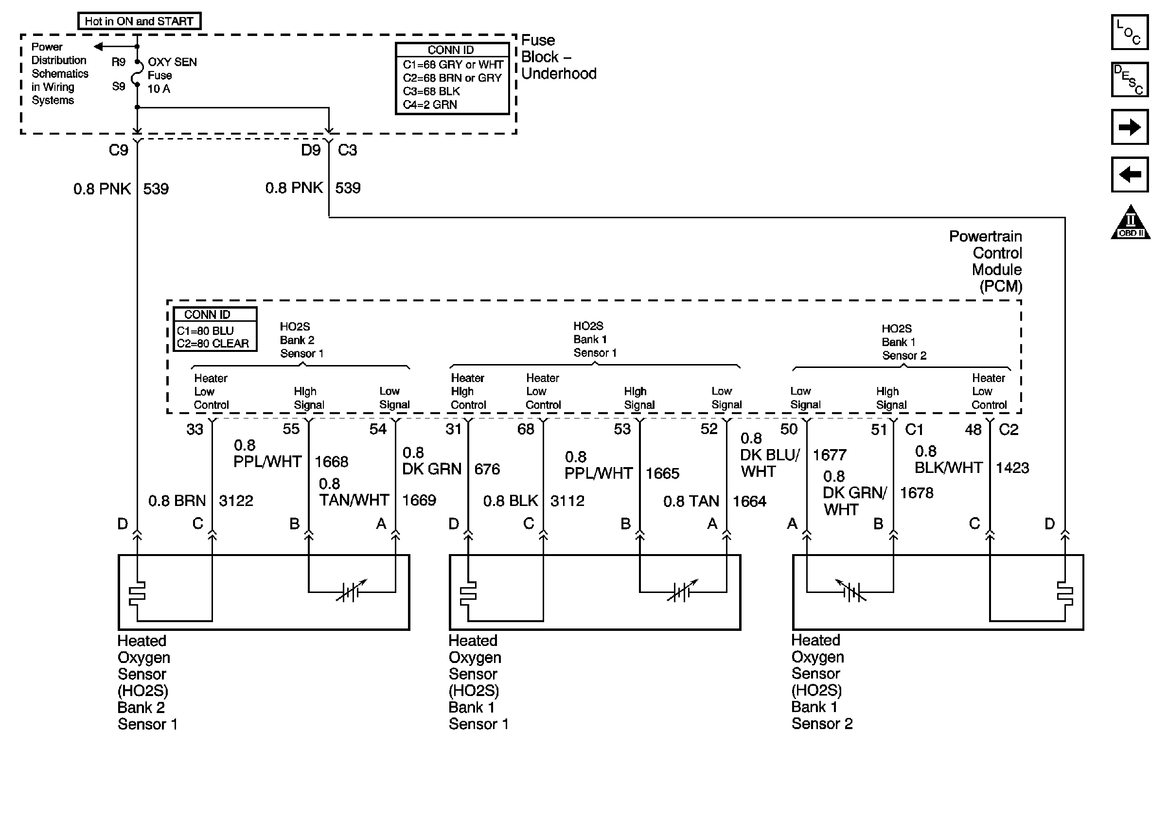
🢒 Heated Oxygen Sensors (HO2S)
Heated Oxygen Sensors (HO2S)
Heated Oxygen Sensors (HO2S)
Sensor Signals
EVAP and EGR Signals
Engine Controls Component Views
OBD II Symbol Description Notice
Powertrain Control Module Description
Power to Underhood Fuse Block