GM Service Manual Online
For 1990-2009 cars only
Makes
🢒
Cadillac
🢒
2001
🢒
Seville
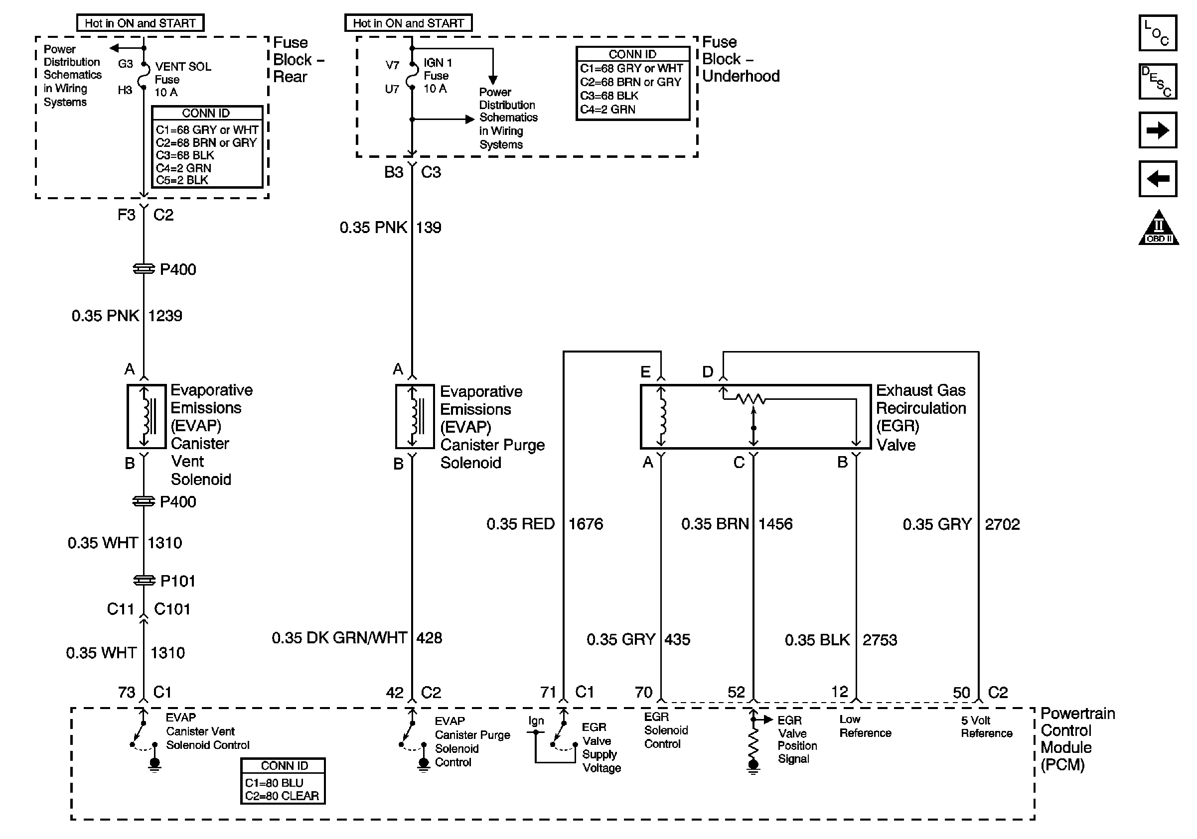
🢒 EVAP and EGR Signals
EVAP and EGR Signals
EVAP and EGR Signals
Heated Oxygen Sensors (HO2S)
MAF and IAC Signals
Engine Controls Component Views
OBD II Symbol Description Notice
Evaporative Emission Control System Description
Battery Feeds
Power to Underhood Fuse Block