GM Service Manual Online
For 1990-2009 cars only
Makes
🢒
Cadillac
🢒
2001
🢒
Seville
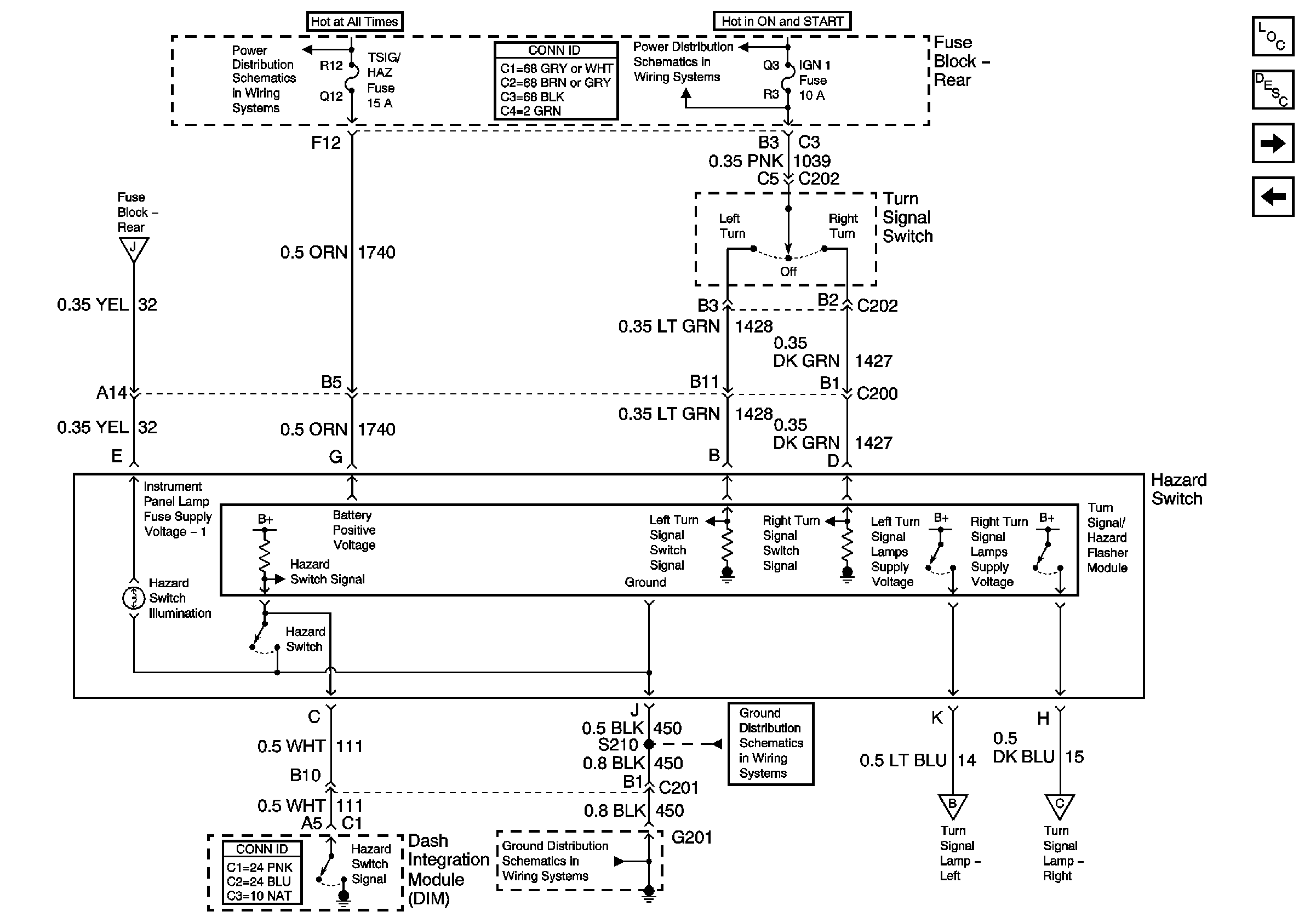
🢒 Hazard Switch
Hazard Switch
Hazard Switch
Park Lamp and Class 2
Stoplamp Switches
Lighting Systems Component Views
Exterior Lighting Systems Description and Operation
Battery Feeds
Battery Feeds
License, Underhood, and Cornering Lamps
G201 (2 of 3)
Left Exterior Lamps
Right Exterior Lights
G201 (2 of 3)