GM Service Manual Online
For 1990-2009 cars only
Makes
🢒
Chevrolet
🢒
2002
🢒
Astro - 2WD
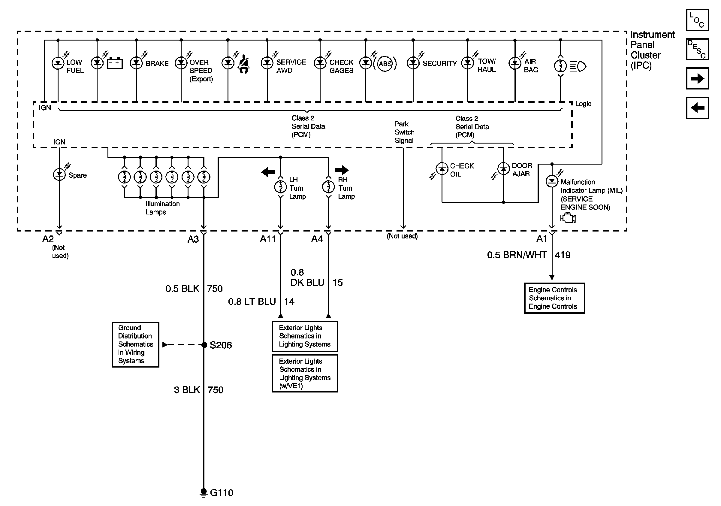
🢒 Indicators
Indicators
Indicators
Master Electrical Component List
Indicator/Warning Message Description and Operation
Gages
Power, Grounds, and DLC
G110 (1 of 2)
Turn Indicators, Front Marker Lamps, Front Park/Turn SignalLamps
Turn Indicators, Front Park/Turn Signal Lamps, Repeater Lamps (VE1)
Module Power, Ground, Serial Data, and MIL