GM Service Manual Online
For 1990-2009 cars only
Makes
🢒
Chevrolet
🢒
2002
🢒
Astro - 2WD
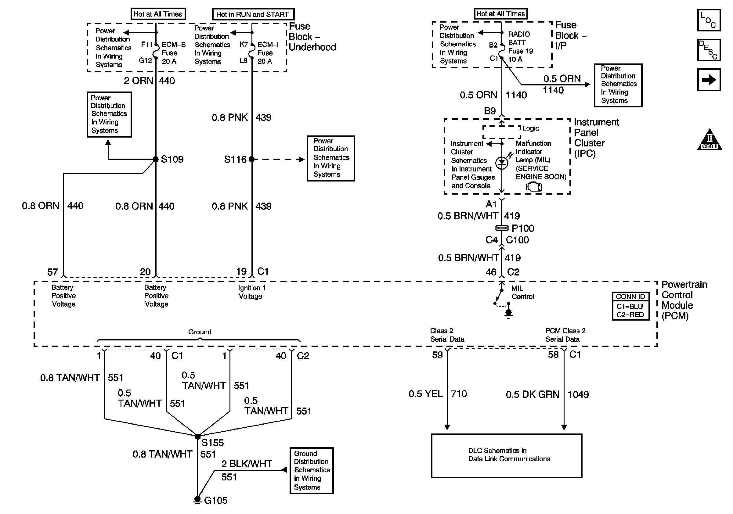
🢒 Module Power, Ground, Serial Data, and MIL
Module Power, Ground, Serial Data, and MIL
Module Power, Ground, Serial Data, and MIL
Master Electrical Component List
Powertrain Control Module Description
Engine Data Sensor
OBD II Symbol Description Notice
Battery and Fuse Block - Underhood
IGN RUN and START Bus Bar
Battery and Lighting Fuse
Cig Lighter Fuse, Radio Battery Fuse and Crank Fuse
HTD Mirror/RR Defog, A/C Comp, Horn, ECM-B ABS, RAP Fuse
ECM - I Fuse
Indicators
G105, and G107
Data Link Connector (DLC)