GM Service Manual Online
For 1990-2009 cars only
Makes
🢒
Chevrolet
🢒
2002
🢒
Astro - 2WD
🢒 Power, Grounds, and DLC
Power, Grounds, and DLC
Power, Grounds, and DLC
Master Electrical Component List
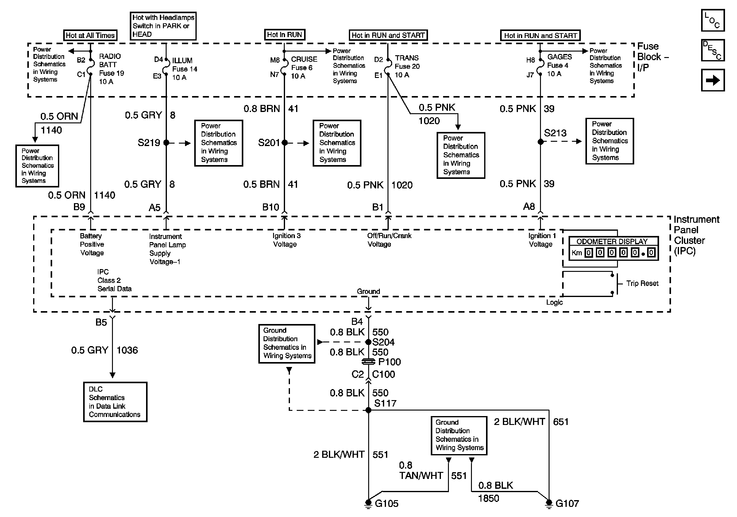
Instrument Cluster Description and Operation
Indicators
Battery and Lighting Fuse
IGN ACC and RUN
IGN RUN and START Bus Bar
Cig Lighter Fuse, Radio Battery Fuse and Crank Fuse
Illumination Fuse
HTR-A/C, Brake, and Cruise Fuses
Trans Fuse, Windows Circuit Breaker
Gages, Air Bag, Turn, Back-up Fuses
Data Link Connector (DLC)
G105, and G107
G105, and G107