GM Service Manual Online
For 1990-2009 cars only
Makes
🢒
Chevrolet
🢒
2002
🢒
Astro - 2WD
🢒 Keyless Entry
Keyless Entry
Master Electrical Component List
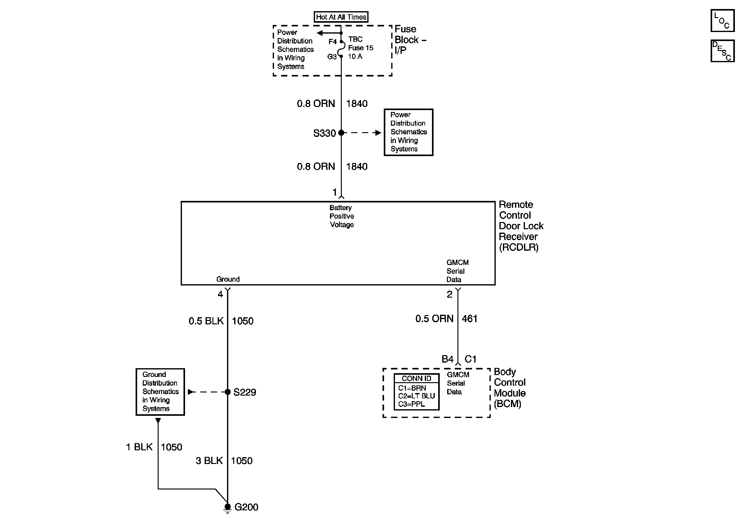
Keyless Entry System Description and Operation
Battery and Lighting Fuse
Courtesy, Park Lamps, TBC, and Power Mirror Fuses
G200
Overhead Console, Rear Heater and A/C Switches, and RSA
Radio, Overhead Console, and RSA
Garage Door Opener
Data Link Connector (DLC)
Gages
G105, and G107
G105, and G107