GM Service Manual Online
For 1990-2009 cars only
Makes
🢒
Chevrolet
🢒
2002
🢒
Astro - 2WD
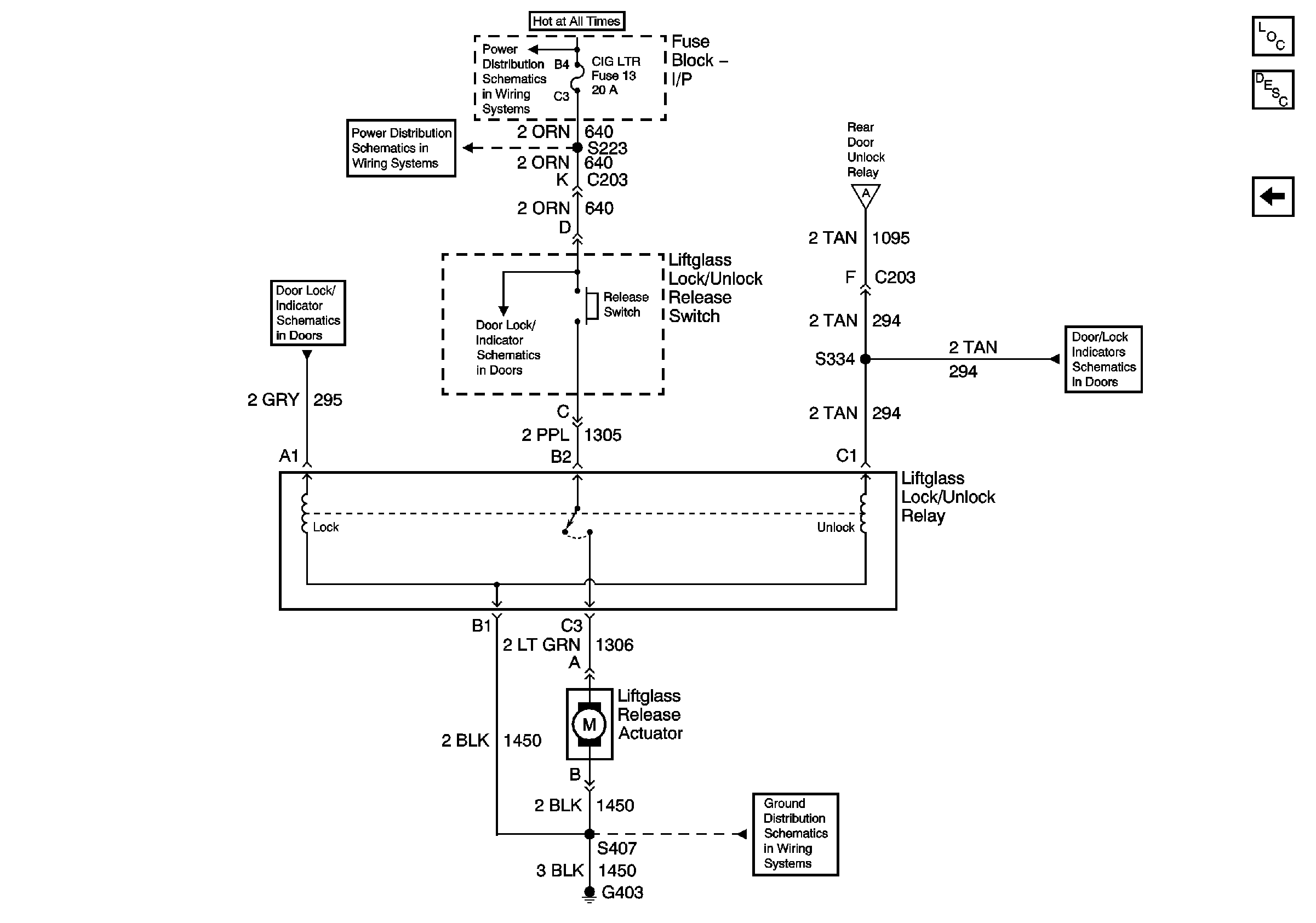
🢒 Liftglass Lock/Unlock Release Switch and Relay
Liftglass Lock/Unlock Release Switch and Relay
Liftglass Lock/Unlock Release Switch and Relay
Master Electrical Component List
Rear Hatch/Gate Description and Operation
Rear Door Unlock Relay Control
Battery and Lighting Fuse
Cig Lighter Fuse, Radio Battery Fuse and Crank Fuse
Rear Door Unlock Relay Control
Door Lock Actuators (E54)
Door Lock Actuators (E54)
Door Lock Actuators (E54)
G300, G401, and G403