GM Service Manual Online
For 1990-2009 cars only
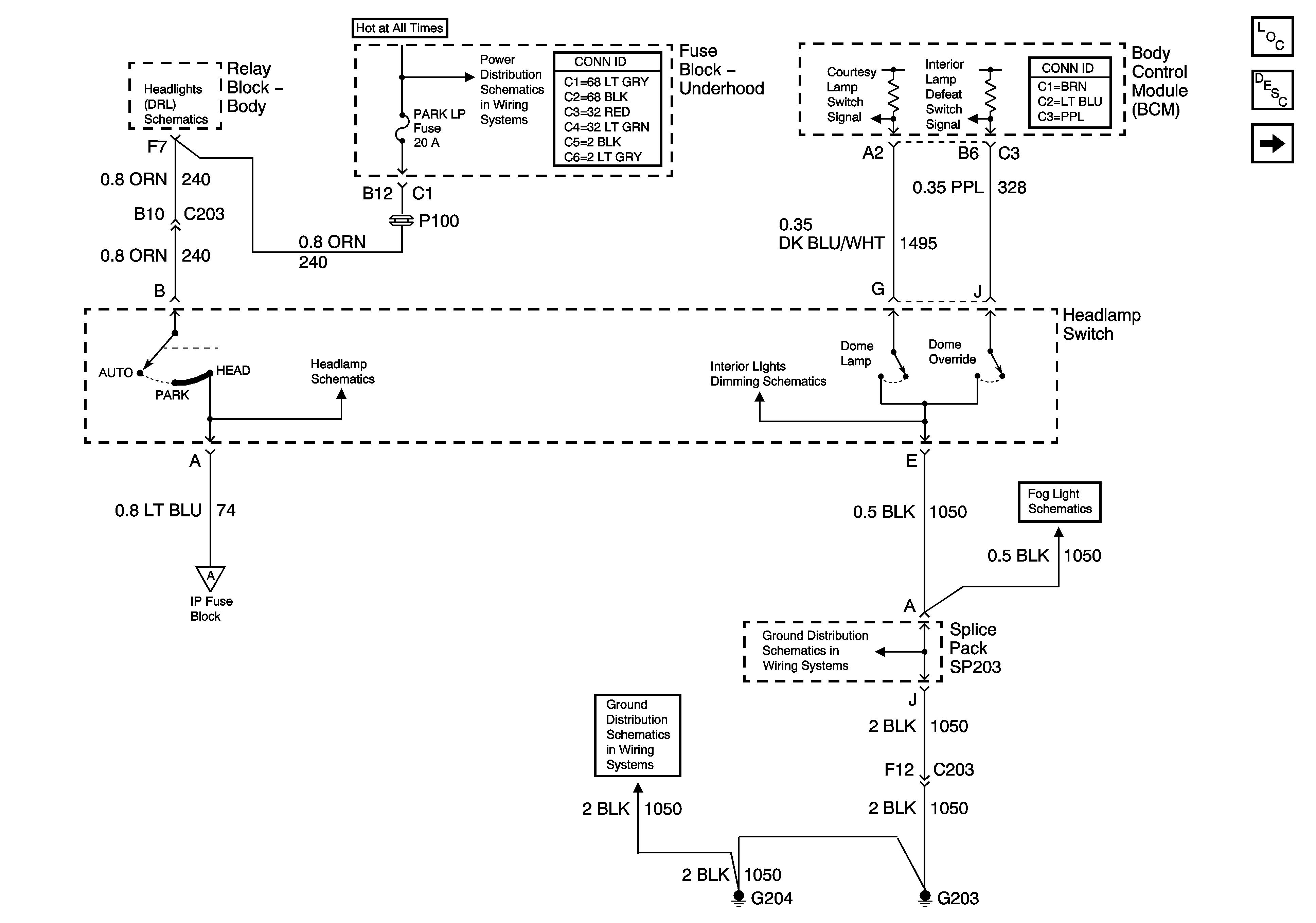
Figure 1:

Headlamp Switch


Object Number: 1283683  Size: FS
Master Electrical Component List
Interior Lighting Systems Description and Operation
Headlamp Lighted Interior Lamps
B+ Bus Bar
Headlamp Switch, Ambient Light Sensor and BCM
Headlamp Lighted Interior Lamps
G203 and G204 - Utility
G203 and G204 - Utility
Headlamp Switch
Rear - Export
Figure 2:

Headlamp Switch Lamps Interior


Object Number: 1509371  Size: FS
Master Electrical Component List
Interior Lighting Systems Description and Operation
Rear Door Jamb and Liftglass Ajar Jamb Switches
Headlamp Switch
B+ Bus Bar
Headlamp Switch
Outside Rearview Mirror Switch
Front Side Window Motors - 2-Door
S501 - Utility
G202
G205
G205
G203 and G204-Utility
G203 and G204-Utility
Figure 3:

CTSY LP Fuse and Courtesy Lamp Relay


Object Number: 886778  Size: FS
Master Electrical Component List
Interior Lighting Systems Description and Operation
Inadvertent Power Relay and Front Door Jamb Switches
Headlamp Switched Interior Lamps
INT BATT, PWR LKS, AMPF, CTSY LP and CIGAR LTR Fuses
Inadvertent Power Relay
G200, G201,G207-Crew Cab
Inadvertent Power Relay and Front Door Jamb Switches
G200, G201,G207-Crew Cab
Inside Rearview Mirror or Driver Information Center
Driver Information Center - Utility w/o Sunroof
Driver Information Display Module - Utility w/ Sunroof
Inside Rearview Mirror or Driver Information Center
Driver Information Center - Utility w/o Sunroof
Driver Information Display Module - Utility w/ Sunroof
Figure 4:

Inadvertent Power Relay and Front Door Jamb Switches


Object Number: 1509376  Size: FS
Master Electrical Component List
Interior Lighting Systems Description and Operation
Rear Door Jamb and Liftglass Ajar Jamb Switches
CTSY LP Fuse and Courtesy Lamp Relay
G203 and G204 - Utility w/Manual A/C
G203 and G204 - Utility w/Manual A/C
G203 and G204 - Utility w/Manual A/C
Inside Rearview Mirror or Driver Information Center
Driver Information Center - Utility w/o Sunroof
Driver Information Display Module - Utility w/ Sunroof
CTSY LP Fuse and Courtesy Lamp Relay
CTSY LP Fuse and Courtesy Lamp Relay
Figure 5:

Rear Door Jamb and Liftglass Ajar Jamb Switches


Object Number: 1509373  Size: FS
Master Electrical Component List
Interior Lighting Systems Description and Operation
Inside Rearview Mirror or Driver Information Center
Inadvertent Power Relay and Front Door Jamb Switches
Inadvertent Power Relay and Front Door Jamb Switches
G420, G450 and S427
Figure 6:

Inside Rearview Mirror or Driver Information Center


Object Number: 1509375  Size: FS
Master Electrical Component List
Interior Lighting Systems Description and Operation
Driver Information Center - Utility w/o Sunroof
Rear Door Jamb and Liftglass Ajar Jamb Switches
CTSY LP Fuse and Courtesy Lamp Relay
CTSY LP Fuse and Courtesy Lamp Relay
Inadvertent Power Relay and Front Door Jamb Switches
Inside Rearview Mirror Schematics
Figure 7:

Driver Information Center (Utility w/o Sunroof)


Object Number: 886841  Size: FS
Master Electrical Component List
Interior Lighting Systems Description and Operation
Driver Information Display Module - Utility w/ Sunroof
Inside Rearview Mirror or Driver Information Center
CTSY LP Fuse and Courtesy Lamp Relay
CTSY LP Fuse and Courtesy Lamp Relay
Inadvertent Power Relay and Front Door Jamb Switches
Power and Ground w/ Trip Computer
LED Dimming Signal
G202
Figure 8:

Driver Information Display Module (Utility w/ Sunroof)


Object Number: 755907  Size: FS
Master Electrical Component List
Interior Lighting Systems Description and Operation
Driver Information Center - Utility w/o Sunroof
CTSY LP Fuse and Courtesy Lamp Relay
CTSY LP Fuse and Courtesy Lamp Relay
Inadvertent Power Relay and Front Door Jamb Switches
Power and Ground w/ Trip Computer
LED Dimming Signal
G202
G202