GM Service Manual Online
For 1990-2009 cars only
Makes
🢒
Chevrolet
🢒
2002
🢒
Chevy C Silverado - 2WD
🢒 Engine Data Sensors - MAF and VSS
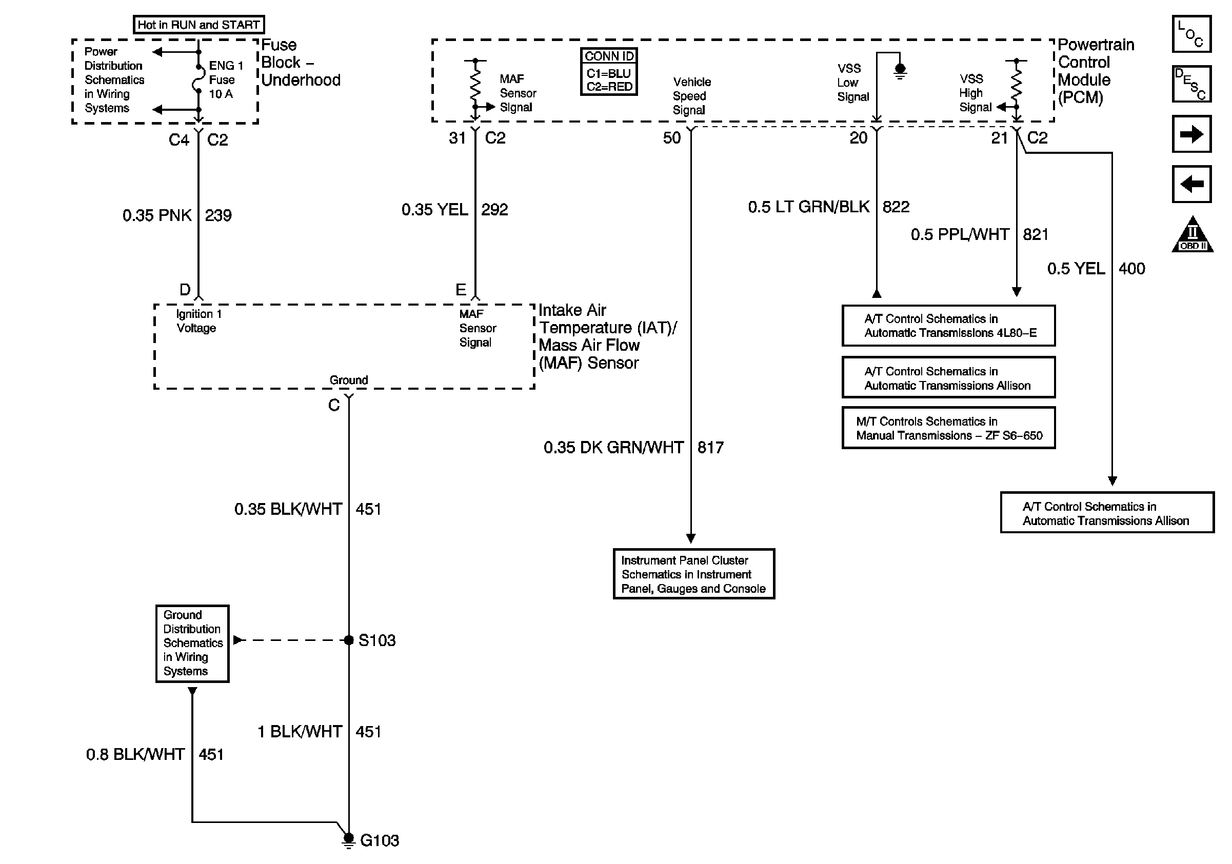
Engine Data Sensors - MAF and VSS
Engine Data Sensors - MAF and VSS
Master Electrical Component List
Powertrain Control Module Description
Engine Data Sensors - H02S
Engine Data sensors - Pressure and Temperature
OBD II Symbol Description Notice
02B, 02A, ENG 1, and IGN E Fuses - Gas Only
G103 and G105 - Gas
Gages
Vehicle Speed Signal and 4WD Low Signal
Manual Transmission Schematics
Power, Ground, and Stop Lamp Switch TCC Signal Circuit