GM Service Manual Online
For 1990-2009 cars only
Makes
🢒
Chevrolet
🢒
2004
🢒
Chevy C Silverado - 2WD
🢒
Body
🢒
Wiring Systems
🢒 Power Steering Schematics
Figure
1:
Power, Ground, Serial Data, Steering Wheel/Speed, and Brake Pedal Position Sensors
Master Electrical Component List
Power Steering System Description and Operation w/ Electro-Hydraulic Steering
Hydraulic Motor Power and Ground
EHPS-I, HCM-I, COOL PMP, and COOL FAN Fuses (HP2)
Ignition Switch - ACC/RUN and RUN/START Bus Bars
IGN 0, TBC IGN 0,TBC ACCY, SEO ACCY, RR WPR, and WS WPR Fuses
IGN 0, TBC IGN 0,TBC ACCY, SEO ACCY, RR WPR, and WS WPR Fuses
High Speed GMLAN - Hybrid Only
High Speed GMLAN - Hybrid Only
G203 - 1 of 3
G203 - 1 of 3
G103 - Gas
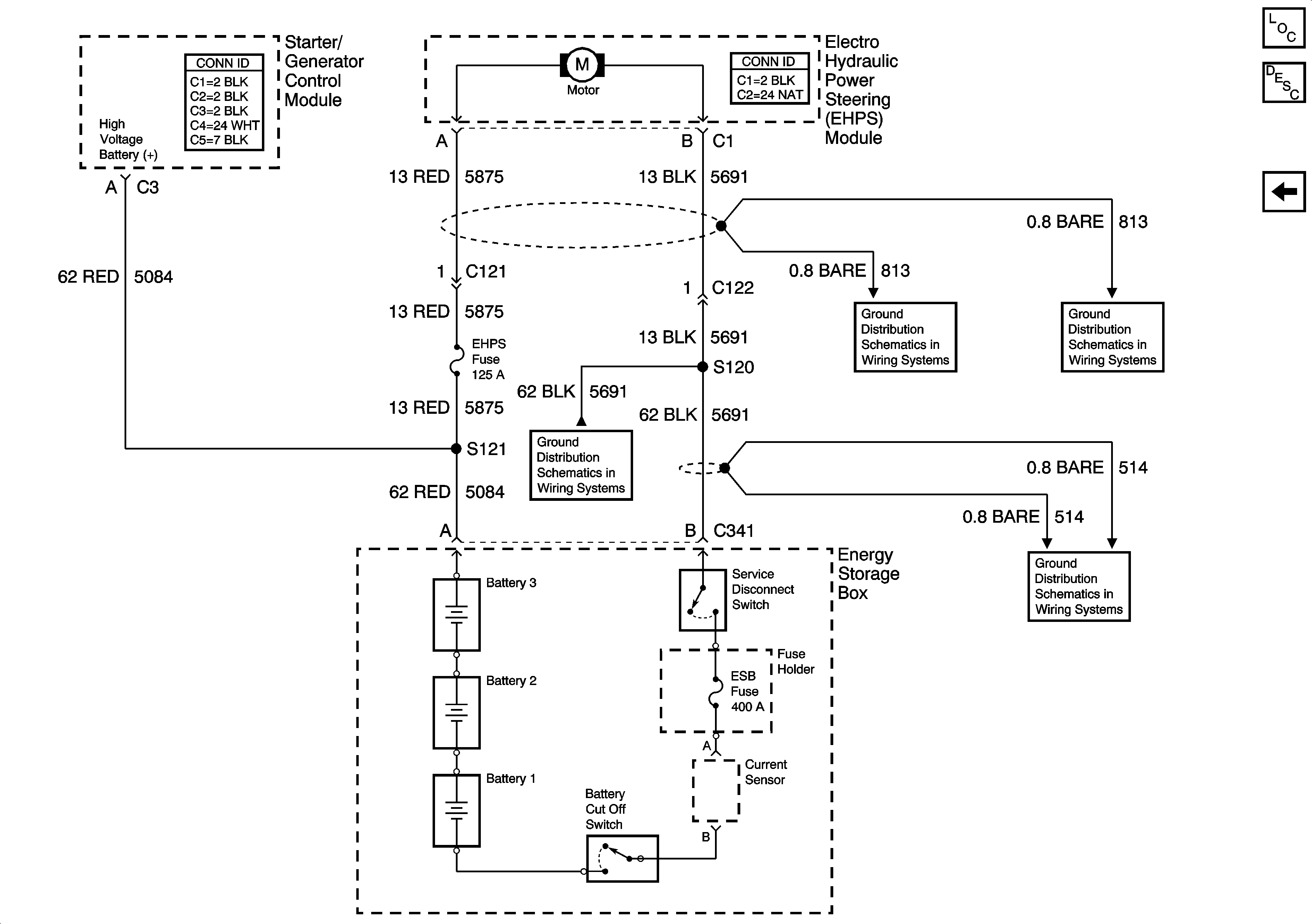
Figure
2:
Hydraulic Motor Power and Ground
Master Electrical Component List
Power Steering System Description and Operation w/ Electro-Hydraulic Steering
Power, Ground, Serial Data, Steering Wheel/Speed, and Brake Pedal Position Sensors
Hybrid Ground - 1 of 2
Hybrid Ground - 2 of 2
G102 - Gas
G200 - 1 of 3