GM Service Manual Online
For 1990-2009 cars only
Makes
🢒
Chevrolet
🢒
2004
🢒
Chevy C Silverado - 2WD
🢒 Controlled/Monitored Subsystem References - 1 of 2
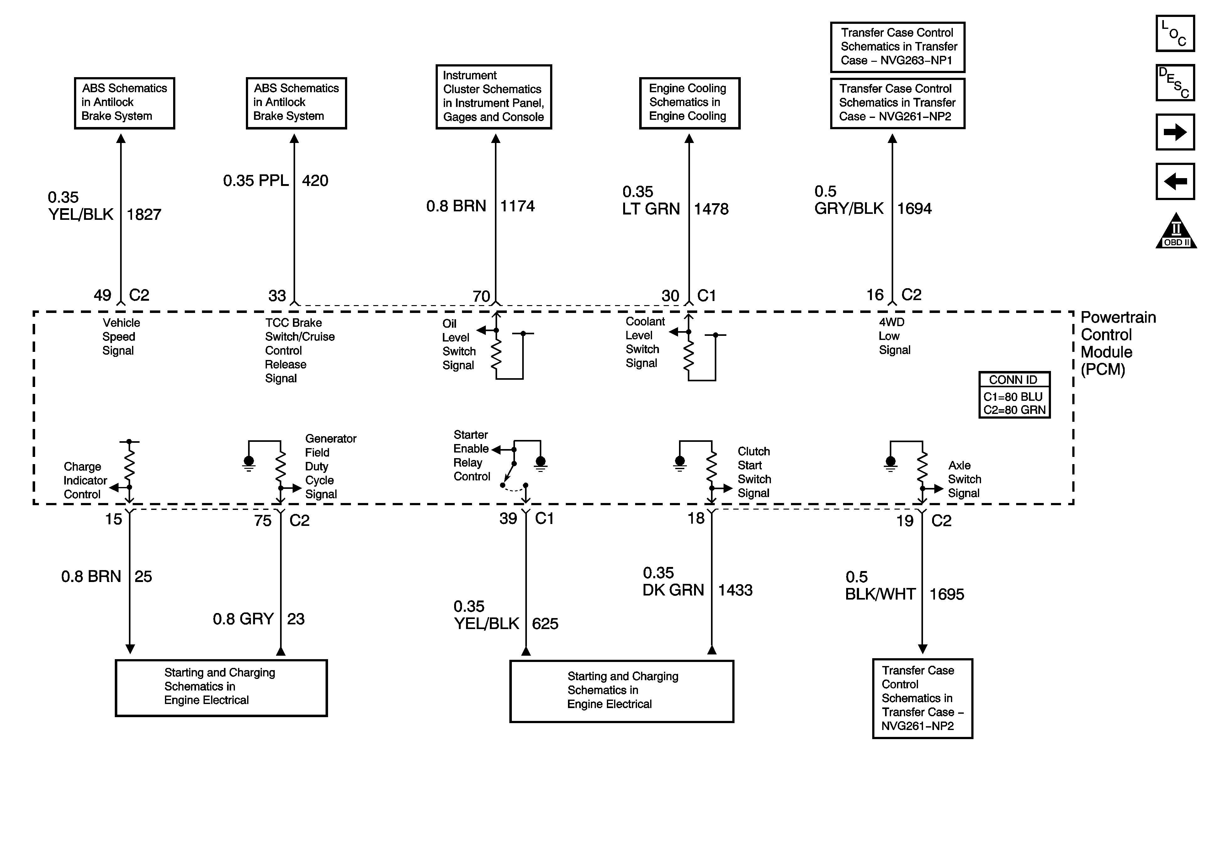
Controlled/Monitored Subsystem References - 1 of 2
Controlled/Monitored Subsystem References - 1 of 2
Master Electrical Component List
Powertrain Control Module Description
Controlled/Monitored Subsystem References 2 of 2
Fuel Controls - EVAP Controls and Fuel Tank Pressure
OBD II Symbol Description Notice
8600 GVW or Less - 1 of 2
8600 GVW or Less - 2 of 2
Indicators
Coolant Level Indicator Control - Diesel and L18 Only
Power, Ground, Class 2 Serial Data and Transfer Case Encoder Motor
Transfer Case Control Schematics
Charging - Gas
Starting - Gas
Transfer Case Control Schematics