GM Service Manual Online
For 1990-2009 cars only
Makes
🢒
Chevrolet
🢒
1998
🢒
Chevy P42 Commercial Chassis
🢒 P32 Cell 81 (2)
P32 Cell 81 (2)
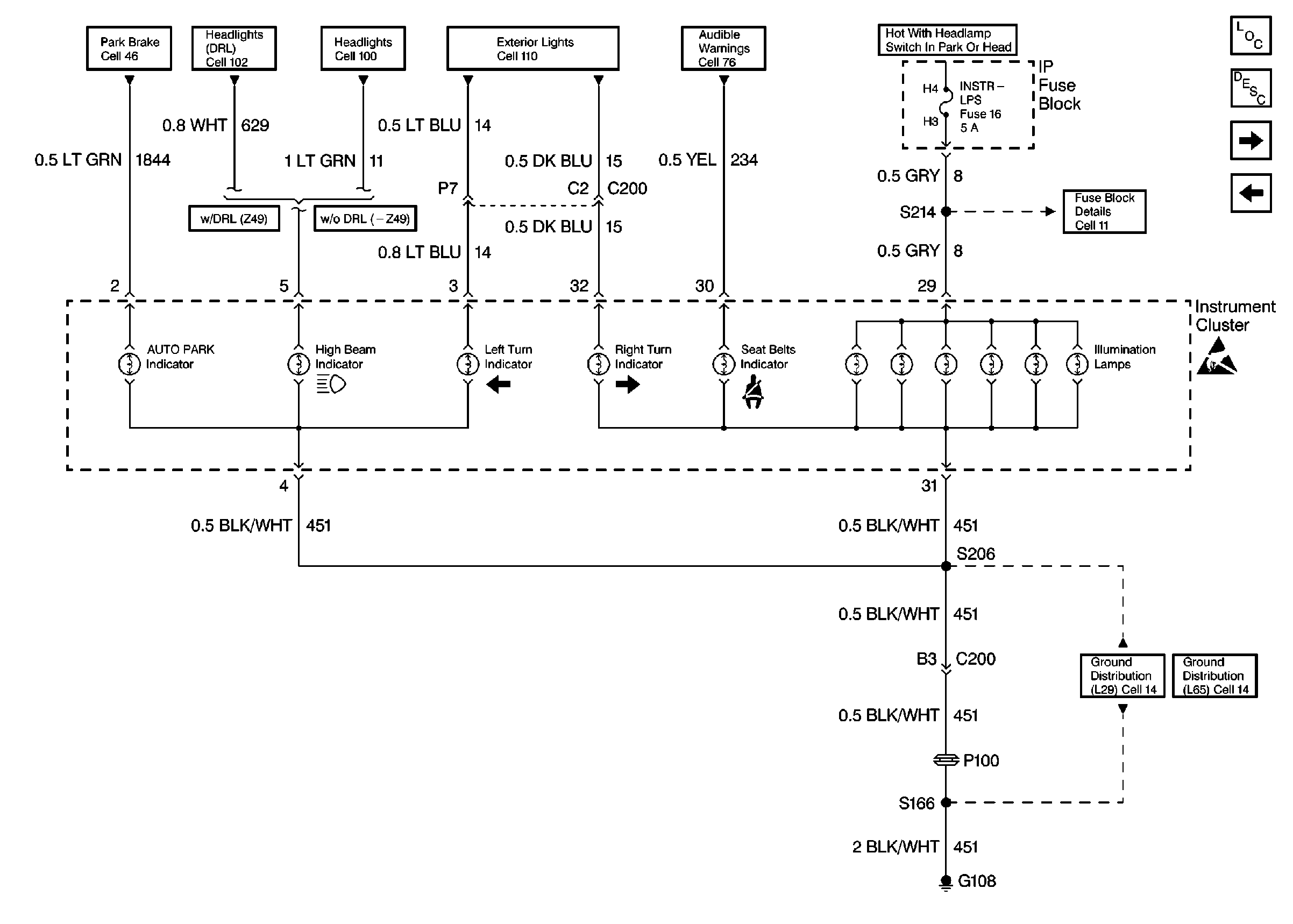
Cell 81: Indicators and Illumination Lamps
Instrument Cluster Components P32
Instrument Cluster Circuit Description
P32 Cell 81 (3)
P32 Cell 81(1)
Cell 41: AUTO PARK Warning Circuit
Cell 102: Ignition Switch and IP Cluster
Cell 100: Headlamps Switch and Base Headlamps
Cell 110: Headlamps Switch and IP Cluster
Cell 76
Cell 11: Wiper, Acc-Radio, Crank, Auto Apply, and Instr Lpsfuses
Handling ESD Sensitive Parts Notice
Cell 14: G108 [L29]
Cell 14: G108 [L65]