GM Service Manual Online
For 1990-2009 cars only
Makes
🢒
Chevrolet
🢒
2000
🢒
Corvette
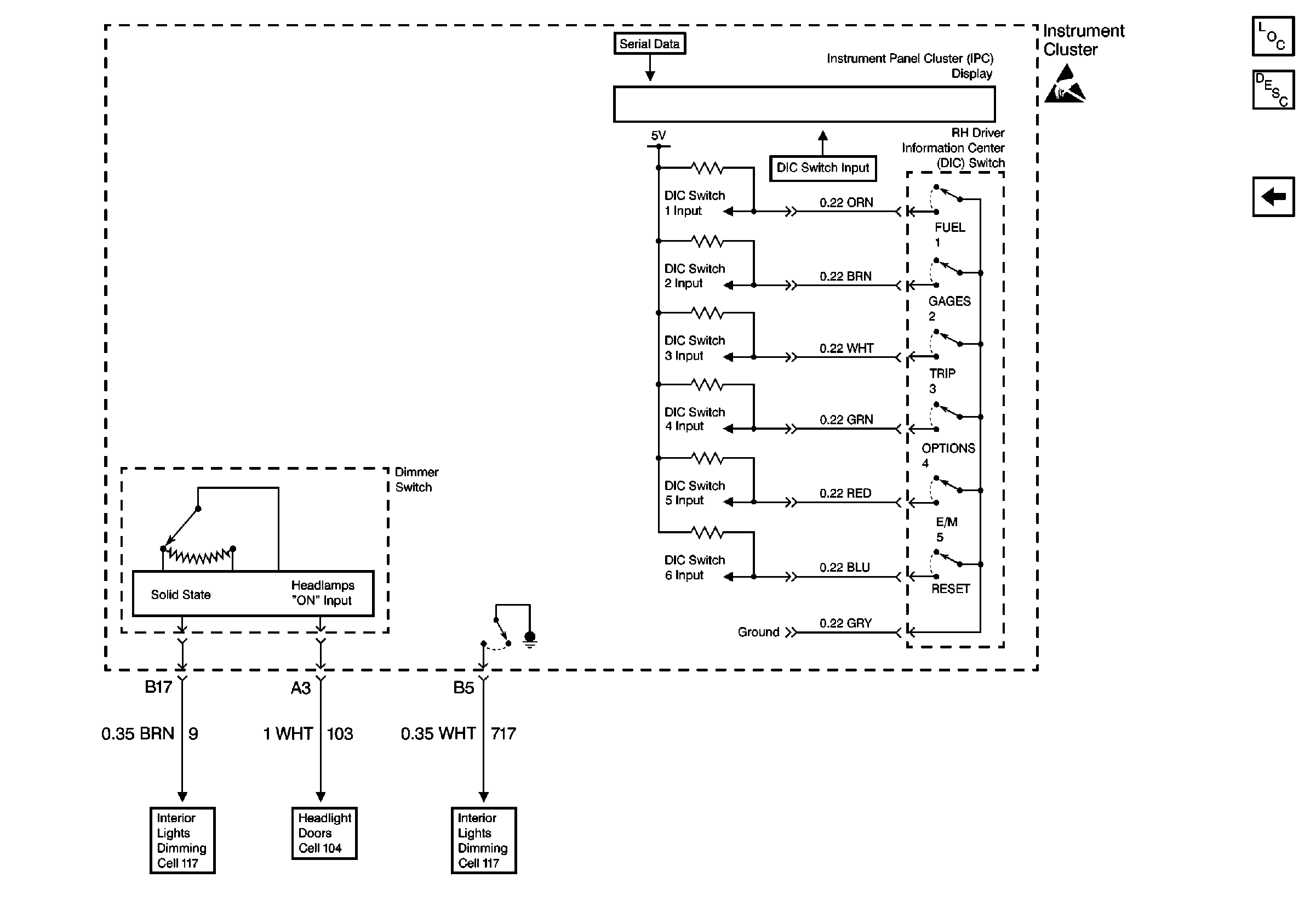
🢒 Cell 81: Driver Information Center and Dimmer Switch
Cell 81: Driver Information Center and Dimmer Switch
Cell 81: Driver Information Center and Dimmer Switch
Instrument Cluster Components
Instrument Cluster Description
Cell 81: Miscellaneous Switch Inputs
Handling ESD Sensitive Parts Notice
Cell 117: ALC PRK LP Relay
Cell 104: Power and Ground
Cell 117: Door and Radio Dimming Control