GM Service Manual Online
For 1990-2009 cars only
Makes
🢒
Chevrolet
🢒
2002
🢒
Impala
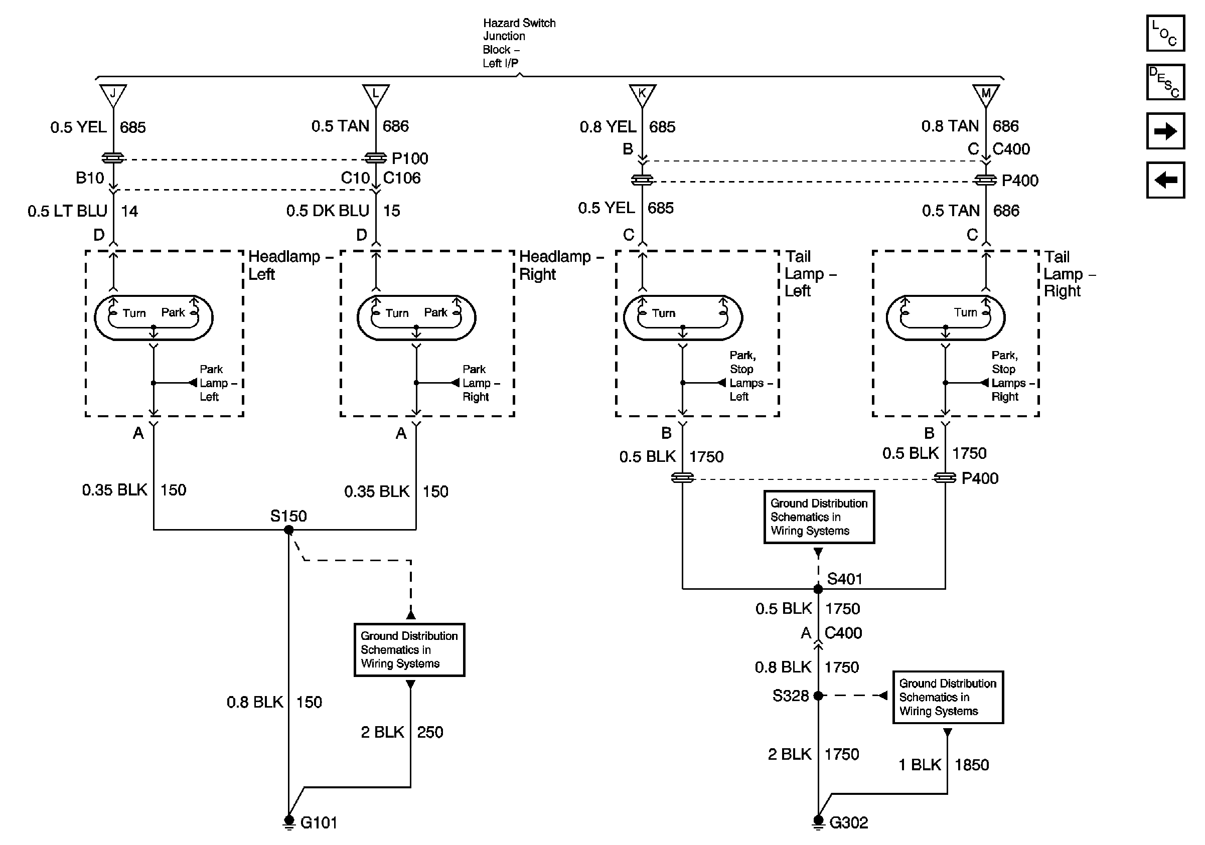
🢒 Turn Lamps (Monte Carlo)
Turn Lamps (Monte Carlo)
Turn Lamps (Monte Carlo)
Master Electrical Component List
Exterior Lighting Systems Description and Operation
Backup Lamps (w/o 9C1/9C3/9C6)
Turn/Hazard Lamps Control (Monte Carlo)
Turn/Hazard Lamps Control (Monte Carlo)
Turn/Hazard Lamps Control (Monte Carlo)
Turn/Hazard Lamps Control (Monte Carlo)
Turn/Hazard Lamps Control (Monte Carlo)
Park Lamps (Monte Carlo)
Park Lamps (Monte Carlo)
Park Lamps (Monte Carlo)
Park Lamps (Monte Carlo)
G101
G302 (2 of 2) and G309
G302 (1 of 2)