GM Service Manual Online
For 1990-2009 cars only
Makes
🢒
Chevrolet
🢒
2005
🢒
Impala
🢒 Power, Ground, and Blower Motor Control
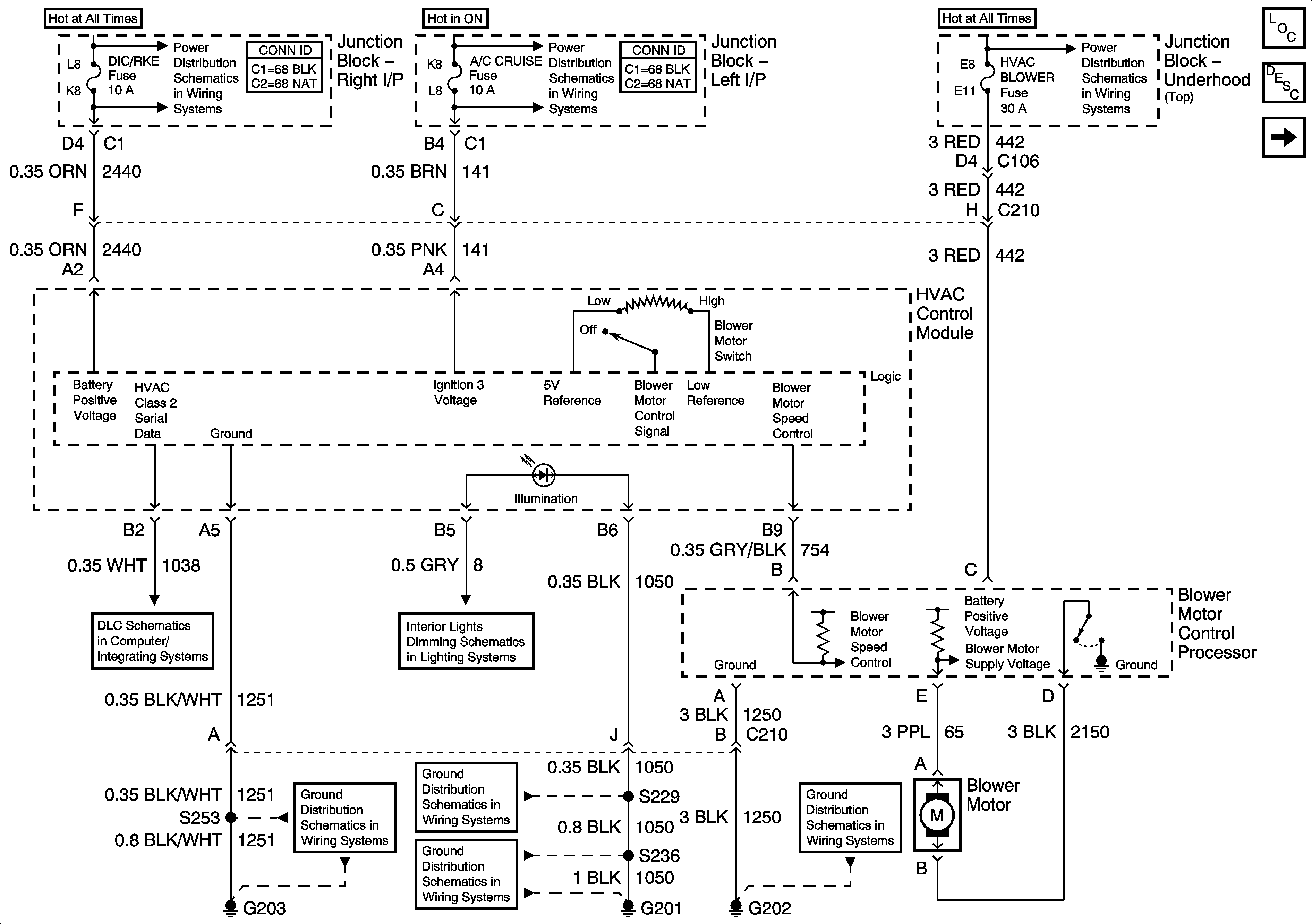
Power, Ground, and Blower Motor Control
Power, Ground, and Blower Motor Controls
Master Electrical Component List
Air Delivery Description and Operation
A/C Compressor Controls
B/U LP, DIC/RKE, PWR DROP and RT HTD ST Fuses, PWR SEATS BRKR Circuit Breaker
A/C/CRUISE, CRUISE, PCM/BCM/CLSTR, and PCM (CRANK) Fuses
A/C RLY (CMPR), BCM, CIG/AUS, EXT LTS, IGN SW, PCM, HVAC BLOWER, and WSW Fuses
DLC
I/P
G203 - 1 of 3
G201 - 2 of 2
G201 - 1 of 2
G202