GM Service Manual Online
For 1990-2009 cars only
Makes
🢒
Chevrolet
🢒
2001
🢒
Prizm
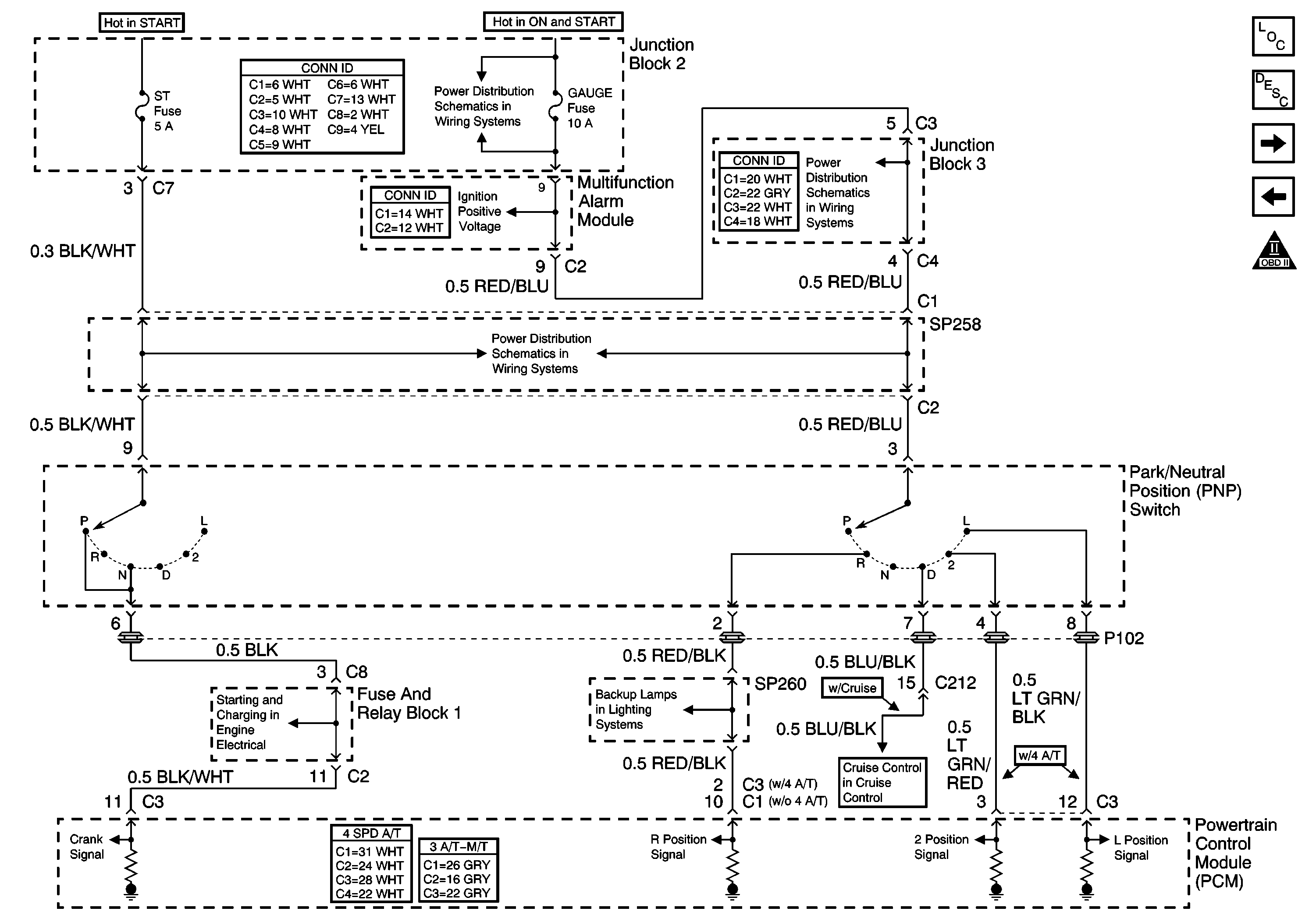
🢒 PNP Switch
PNP Switch
PNP Switch
Master Electrical Component List
Powertrain Control Module Description
OBD II Symbol Description Notice
TCC Solenoid and Shift Solenoids
DRL Control Module and Rear Defogger Switch
Cruise Control Servo and Stoplamp Switch
PNP Switch and Backup Lamp Switch
Gauge Fuse
Gauge Fuse
Gauge Fuse
Gauge Fuse
Starting System