GM Service Manual Online
For 1990-2009 cars only
Makes
🢒
Chevrolet
🢒
2000
🢒
S10 Pickup - 2WD
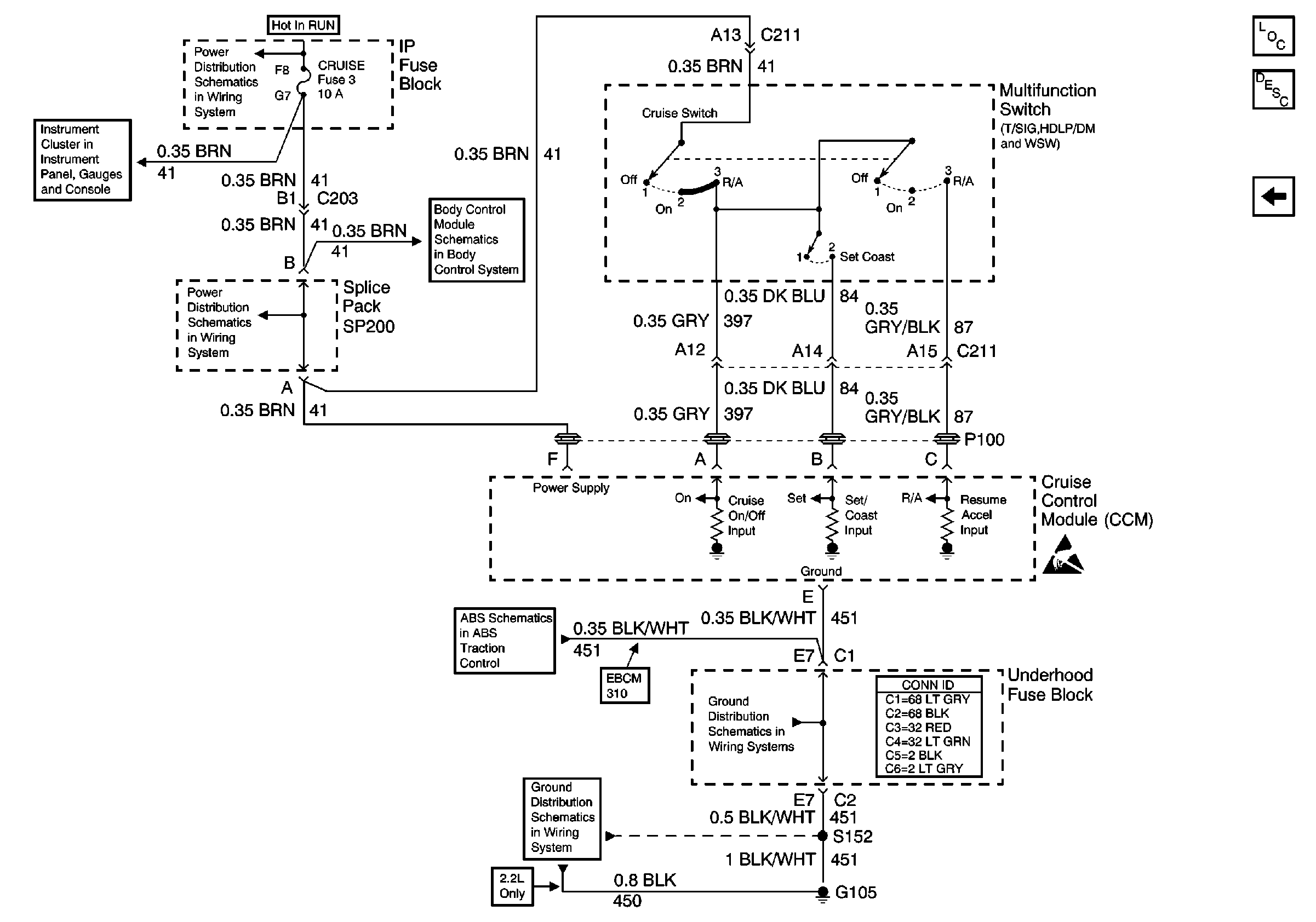
🢒 CRUISE Fuse, Multifunction Switch and Cruise Control Module
CRUISE Fuse, Multifunction Switch and Cruise Control Module
CRUISE Fuse, Multifunction Switch and Cruise Control Module
Cruise Control Components
Cruise Control System Circuit Description
Cruise Control Module and PCM/VCM
Power
HVAC and CRUISE Fuses
HVAC and CRUISE Fuses
Power and Ground
Power and Ground (310 ABS)
G103 and G105 (2.2L)
Cruise Control Connector End Views
Power and Grounding Connector End Views
Handling ESD Sensitive Parts Notice