GM Service Manual Online
For 1990-2009 cars only
Makes
🢒
Chevrolet
🢒
2001
🢒
Tracker - 2WD
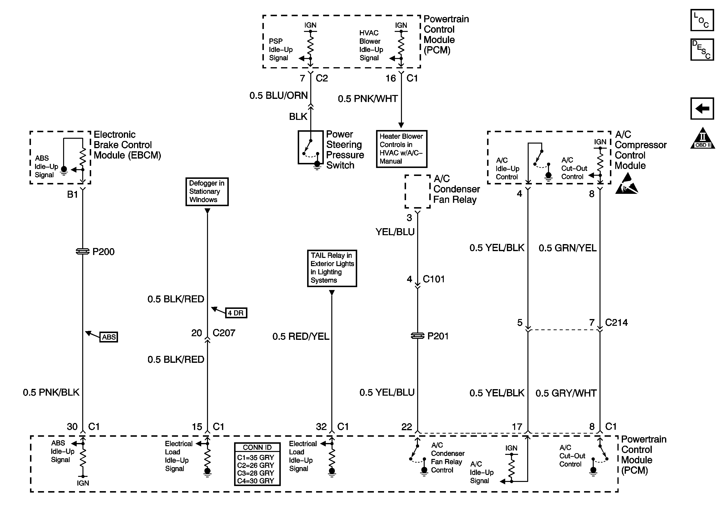
🢒 Powertrain Control Module (PCM) Idle-Up Inputs
Powertrain Control Module (PCM) Idle-Up Inputs
Powertrain Control Module (PCM) Idle-Up Inputs
Master Electrical Component List
Shift Program Switch, Overdrive Switch
OBD II Symbol Description Notice
Blower Control w/ A/C
Side Marker Lamps, Light Switch
NO TITLE DEFOGGER