GM Service Manual Online
For 1990-2009 cars only

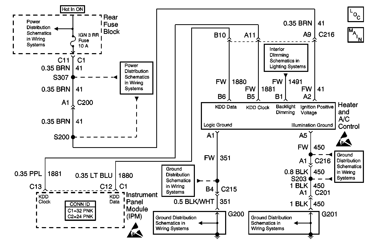
Object Number: 471802  Size: MF
HVAC Components
Heater AC Control W/CJ2
Battery Voltage to the Rear Fuse Block
ABS and IGN 3 Fuses (Rear Fuse Block)
Instrument Panel and Console Dimming
Handling ESD Sensitive Parts Notice
Handling ESD Sensitive Parts Notice
G200 (1 of 2)
G201 (1 of 3)
G200 (1 of 2)
G201 (1 of 3)

Circuit Description

The instrument panel module (IPM) communicates with the heater and A/C control via the keyboard display driver (KDD) data bus. This communication link is only used by the IPM and the heater and A/C control.

Conditions for Running the DTC

The ignition is turned ON.

Conditions for Setting the DTC

    • There is a loss of communications between the IPM and the heater and A/C control.
    • The above conditions are present for 3 seconds.

Action Taken When the DTC Sets

The heater and A/C system will be disabled.

Conditions for Clearing the DTC

    • The DTC will become history if the IPM no longer detects a failure.
    • The history DTC will clear after 50 fault free ignition cycles.
    • The DTC can be cleared with a scan tool.

Test Description

The number(s) below refer to the step number(s) on the diagnostic table.

  1. This step verifies that the heater and A/C control is functioning but not communicating with the instrument panel module.

Step

Action

Value(s)

Yes

No

1

Did you perform the HVAC Diagnostic System Check?

--

Go to Step 2

Go to Diagnostic System Check

2

  1. Turn ON the ignition, with the engine OFF.
  2. Observe the display of the heater and A/C control.

Is the display of the heater and A/C control blank?

--

Go to Step 4

Go to Step 3

3

  1. Turn ON the ignition, with the engine OFF.
  2. Observe the display of the heater and A/C control.

Does the heater and A/C control display only - - -?

--

Go to Step 6

Go to Testing for Intermittent Conditions and Poor Connections

4

Notice: The circuit terminates at a flat wire connector. Use the J 42675 Flat Wire Probe Adapter Kit in order to avoid damage and properly test the circuit.

  1. Turn OFF the ignition.
  2. Disconnect the heater and A/C control.
  3. Turn ON the ignition, with the engine OFF.
  4. Probe the battery positive voltage circuit of the heater and A/C control with a test lamp that is connected to a good ground.

Does the test lamp illuminate?

--

Go to Step 5

Go to Step 8

5

Notice: The circuit terminates at a flat wire connector. Use the J 42675 Flat Wire Probe Adapter Kit in order to avoid damage and properly test the circuit.

Probe the battery positive voltage circuit of the heater and A/C control with a test lamp that is connected to the logic ground circuit of the heater and A/C control.

Does the test lamp illuminate?

--

Go to Step 12

Go to Step 9

6

Notice: The circuit terminates at a flat wire connector. Use the J 42675 Flat Wire Probe Adapter Kit in order to avoid damage and properly test the circuit.

  1. Turn OFF the ignition.
  2. Disconnect the heater and A/C control.
  3. Turn ON the ignition, with the engine OFF.
  4. Measure the voltage from the KDD data circuit to a good ground.

Does the voltage measure near the specified value?

1 Vdc

Go to Step 7

Go to Step 10

7

Notice: The circuit terminates at a flat wire connector. Use the J 42675 Flat Wire Probe Adapter Kit in order to avoid damage and properly test the circuit.

Measure the frequency from the KDD clock circuit to a good ground.

Does the frequency measure near the specified value?

930 Hz

Go to Step 12

Go to Step 11

8

Notice: The circuit terminates at a flat wire connector. Use the J 42675 Flat Wire Probe Adapter Kit in order to avoid damage and properly test the circuit.

Repair the battery positive voltage circuit of the heater and A/C control for a short to ground, a high resistance, or an open. Refer to Circuit Testing and Wiring Repairs in Wiring Systems.

Did you find and correct the condition?

--

Go to Step 16

--

9

Notice: The circuit terminates at a flat wire connector. Use the J 42675 Flat Wire Probe Adapter Kit in order to avoid damage and properly test the circuit.

Repair the logic ground circuit of the heater and A/C control for a high resistance or an open. Refer to Circuit Testing and Wiring Repairs in Wiring Systems.

Did you find and correct the condition?

--

Go to Step 16

--

10

Notice: The circuit terminates at a flat wire connector. Use the J 42675 Flat Wire Probe Adapter Kit in order to avoid damage and properly test the circuit.

Test the KDD data circuit for a short to voltage, a short to ground or an open. Refer to Circuit Testing and Wiring Repairs in Wiring Systems.

Did you find and correct the condition?

--

Go to Step 16

Go to Step 13

11

Notice: The circuit terminates at a flat wire connector. Use the J 42675 Flat Wire Probe Adapter Kit in order to avoid damage and properly test the circuit.

Test the KDD clock circuit for a short to voltage, a short to ground, or an open. Refer to Circuit Testing and Wiring Repairs in Wiring Systems.

Did you find and correct the condition?

--

Go to Step 16

Go to Step 13

12

Inspect for poor connections at the harness connector of the heater and A/C control. Refer to Testing for Intermittent Conditions and Poor Connections and Connector Repairs in Wiring Systems.

Did you find and correct the condition?

--

Go to Step 16

Go to Step 14

13

Inspect for poor connections at the harness connector of the IPM. Refer to Testing for Intermittent Conditions and Poor Connections and Connector Repairs in Wiring Systems.

Did you find and correct the condition?

--

Go to Step 16

Go to Step 15

14

Replace the heater and A/C control. Refer to Control Assembly Replacement .

Did you complete the replacement?

--

Go to Step 16

--

15

Replace the IPM. Refer to Instrument Panel Module Replacement in Body Control System.

Did you complete the replacement?

--

Go to Step 16

--

16

  1. Use the scan tool in order to clear the DTCs .
  2. Operate the vehicle within the Conditions for Running the DTC as specified in the supporting text.

Does the DTC reset?

--

Go to Step 2

System OK