GM Service Manual Online
For 1990-2009 cars only
Makes
🢒
Pontiac
🢒
2000
🢒
Firebird
🢒 Without Traction Control
Without Traction Control
Without Traction Control
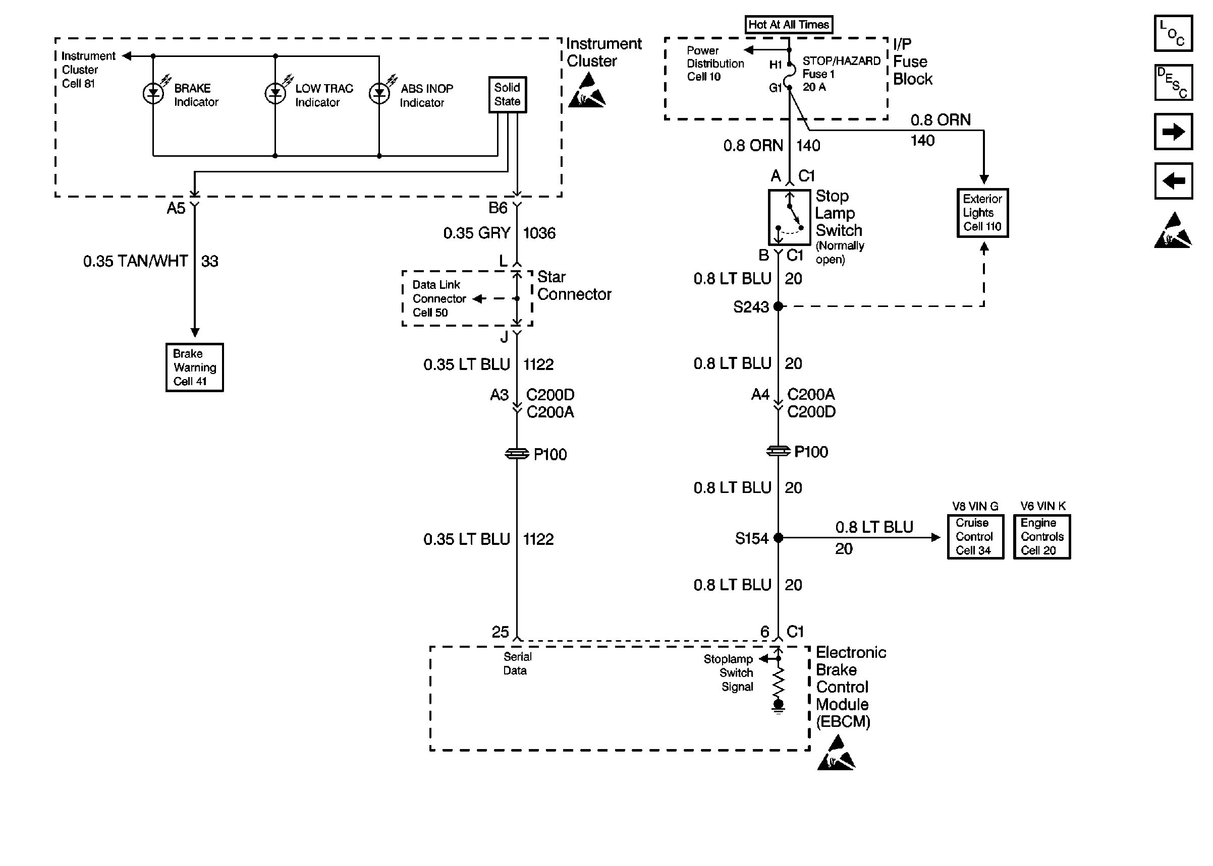
ABS Components
ABS Description
Without Traction Control
Without Traction Control
Handling ESD Sensitive Parts Notice
Class 2 Indicators
Fusible Links, IP Fuse Block, and Underhood Electrical Centers
Cell 41
Class 2 Serial Data Line Cell 50
Center High Mounted Stoplamp Cell 110
Cell 34: PCM
Gen Control, IAC , Check Gauges Lamp
Handling ESD Sensitive Parts Notice