GM Service Manual Online
For 1990-2009 cars only
Makes
🢒
Pontiac
🢒
2002
🢒
Firebird
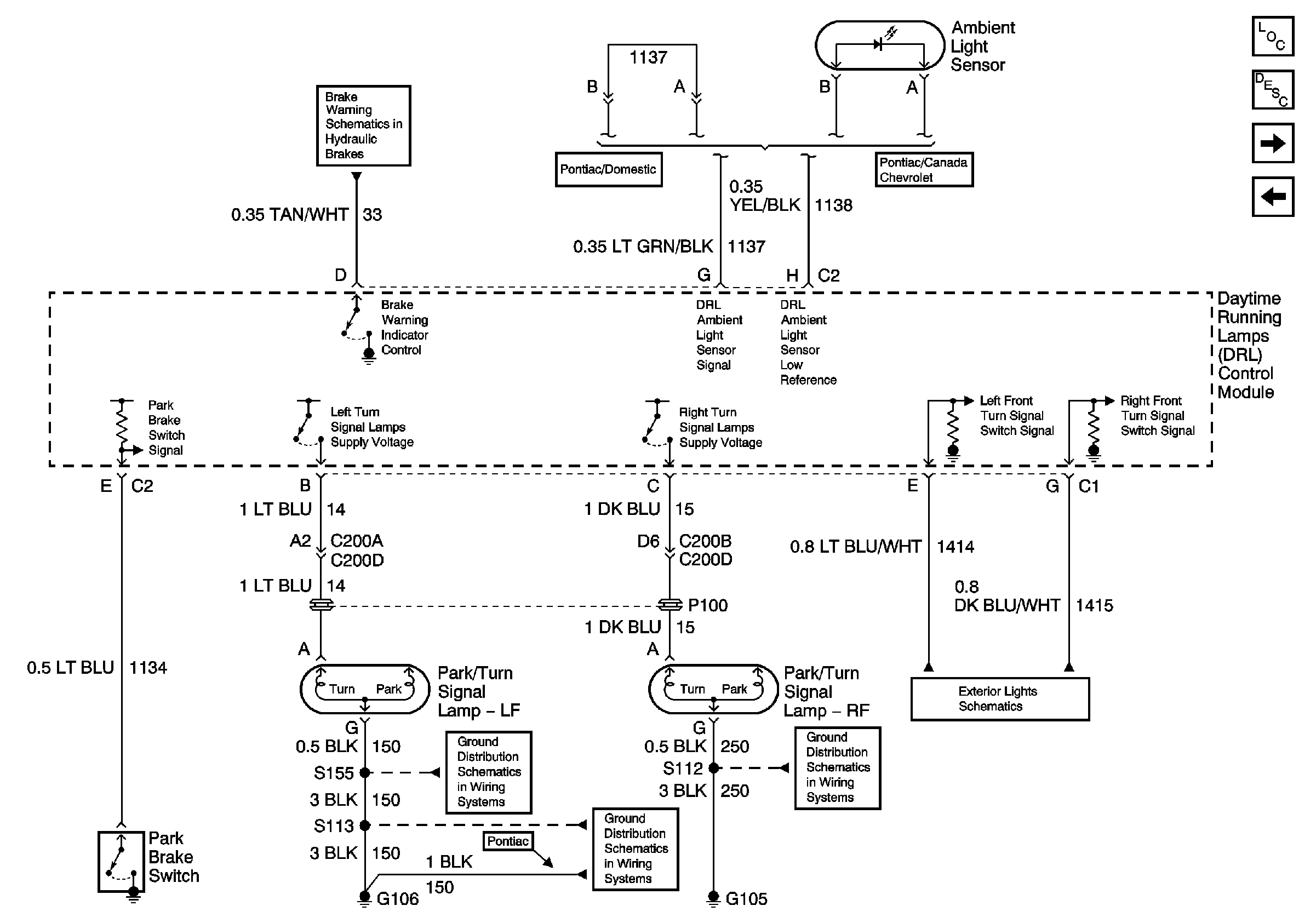
🢒 DRL Controls
DRL Controls
DRL Controls
Master Electrical Component List
Exterior Lighting Systems Description and Operation
Headlights Pontiac
Power,Ground and Switch Control
Brake Warning System Schematics
G106
G106
G105
Turn Signal Lamps Chevrolet Domestic and Gulf