GM Service Manual Online
For 1990-2009 cars only
Makes
🢒
Pontiac
🢒
2006
🢒
Solstice
🢒 Controlled/Monitored Subsystem References
Controlled/Monitored Subsystem References
Controlled/Monitored Subsystem References
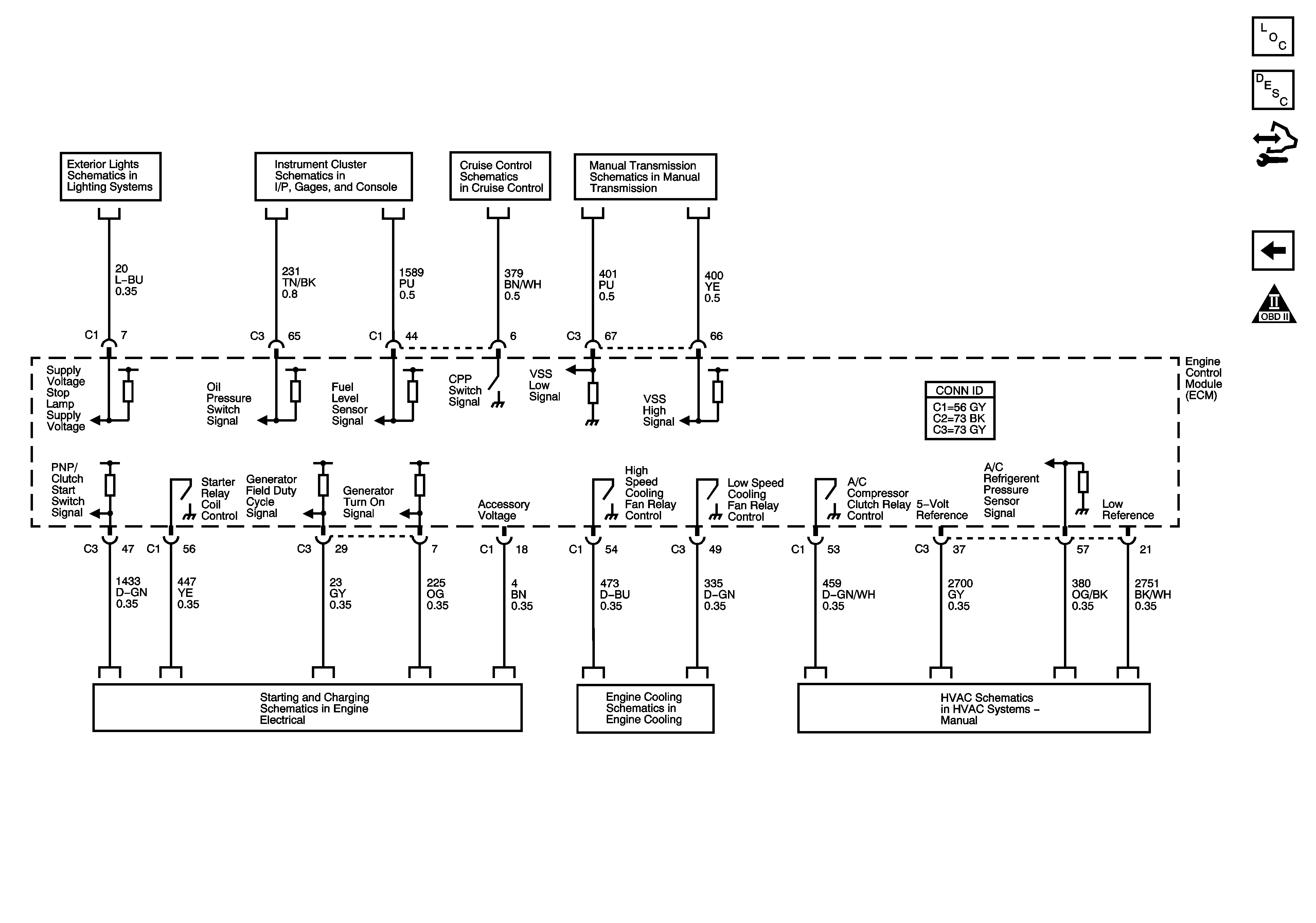
Master Electrical Component List
Fuel System Description
Control Module References
Fuel Controls - EVAP Controls
Engine Controls Schematic Icons
Stop and Turn Signal Lamps
Instrument Cluster Schematics
Cruise Control Schematics
Manual Transmission Schematics
Engine Electrical Schematics
Engine Cooling Schematics
A/C Compressor Controls