GM Service Manual Online
For 1990-2009 cars only
Makes
🢒
Pontiac
🢒
2003
🢒
Sunfire
🢒
Body and Accessories
🢒
Cellular Communication
🢒 OnStar Schematics
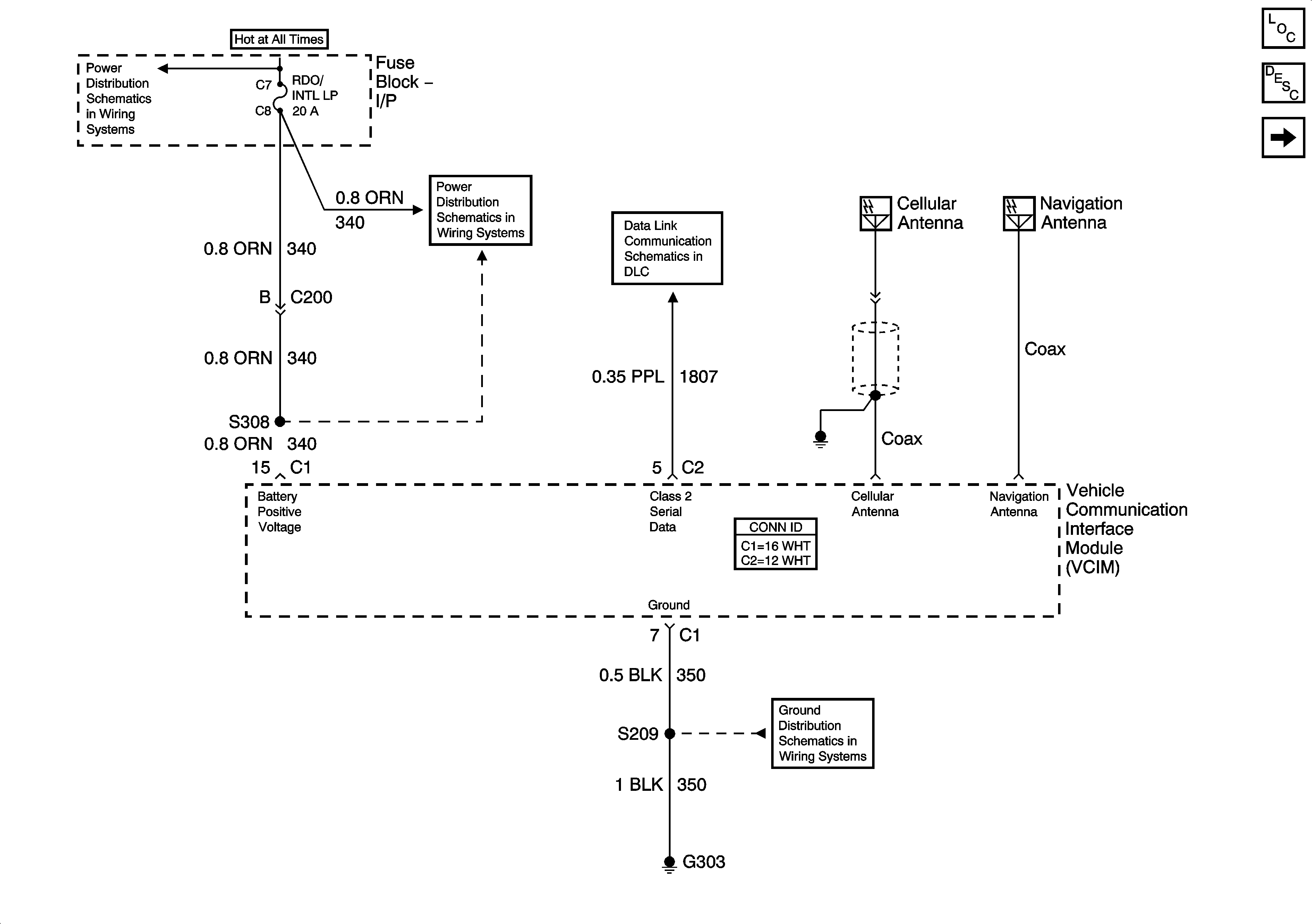
Figure
1:
Antennas, Data Link, Ground and Power
Master Electrical Component List
OnStar Description and Operation
Inside Rearview Mirror
Fuse Block-Underhood BATT 1 Fuse, Fuse Block-I/P MIRROR, RT HDLP, FLS/PASS, RDO/INTLP, RFA BATT and AMPL Fuses
Fuse Block-Underhood BATT 1 Fuse, Fuse Block-I/P MIRROR, RT HDLP, FLS/PASS, RDO/INTLP, RFA BATT and AMPL Fuses
Data Link Communications
G102, G201, G303
Figure
2:
Inside Rearview Mirror
Master Electrical Component List
OnStar Description and Operation
Antennas, Data Link, Ground and Power
G204 1 of 2
Cellular Communication Schematic Icons