GM Service Manual Online
For 1990-2009 cars only
Makes
🢒
Pontiac
🢒
2003
🢒
Sunfire
🢒 03 Power, Ground, Serial Data
03 Power, Ground, Serial Data
Power, Ground, Serial Data
Master Electrical Component List
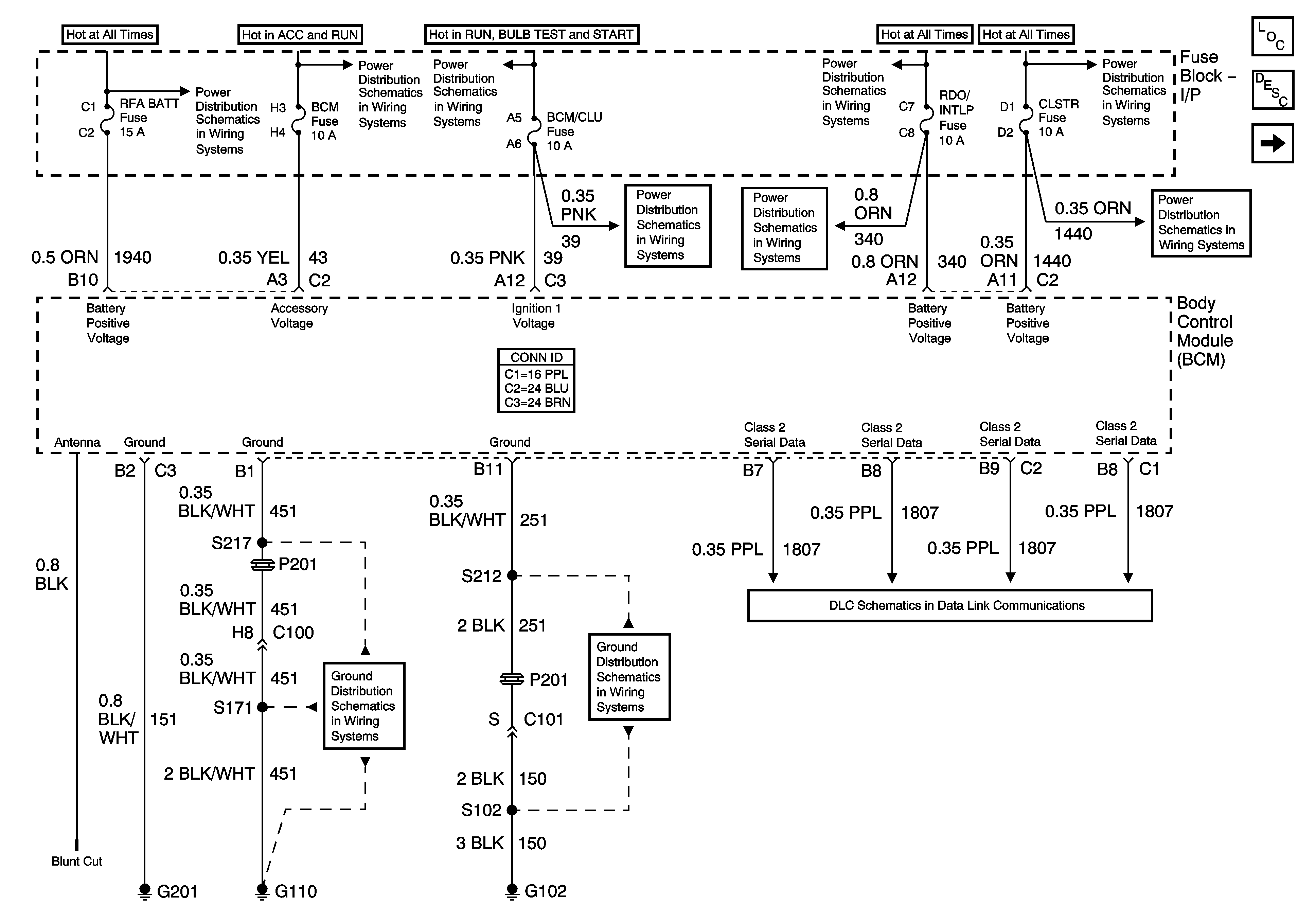
Body Control System Description and Operation
Controlled/Monitored Subsystem References 1 of 2
Fuse Block-Underhood BATT 1 Fuse, Fuse Block-I/P MIRROR, RT HDLP, FLS/PASS, RDO/INTLP, RFA BATT and AMPL Fuses
Fuse Block-I/P BCM, WIPER, HVAC, 02 HTR, and PWR WDO Fuses
Fuse Block-I/P TURN-B/U, IGN MDL, PCM, and BCM/CLU Fuses
Fuse Block-Underhood BATT 1 Fuse, Fuse Block-I/P MIRROR, RT HDLP, FLS/PASS, RDO/INTLP, RFA BATT and AMPL Fuses
Fuse Block-I/P CIG, HORN, LT HDLP, CLSTR, EXT LP, FOG Fuses, and HDLP Circuit Breaker
Fuse Block-I/P TURN-B/U, IGN MDL, PCM, and BCM/CLU Fuses
Fuse Block-Underhood BATT 1 Fuse, Fuse Block-I/P MIRROR, RT HDLP, FLS/PASS, RDO/INTLP, RFA BATT and AMPL Fuses
Fuse Block-I/P CIG, HORN, LT HDLP, CLSTR, EXT LP, FOG Fuses, and HDLP Circuit Breaker
Data Link Communications
G110
G102, G201, G303