GM Service Manual Online
For 1990-2009 cars only
Makes
🢒
Cadillac
🢒
2002
🢒
DeVille
🢒 Controlled / Monitored Subsystem References
Controlled / Monitored Subsystem References
Controlled/Monitored Subsystem References
Master Electrical Component List
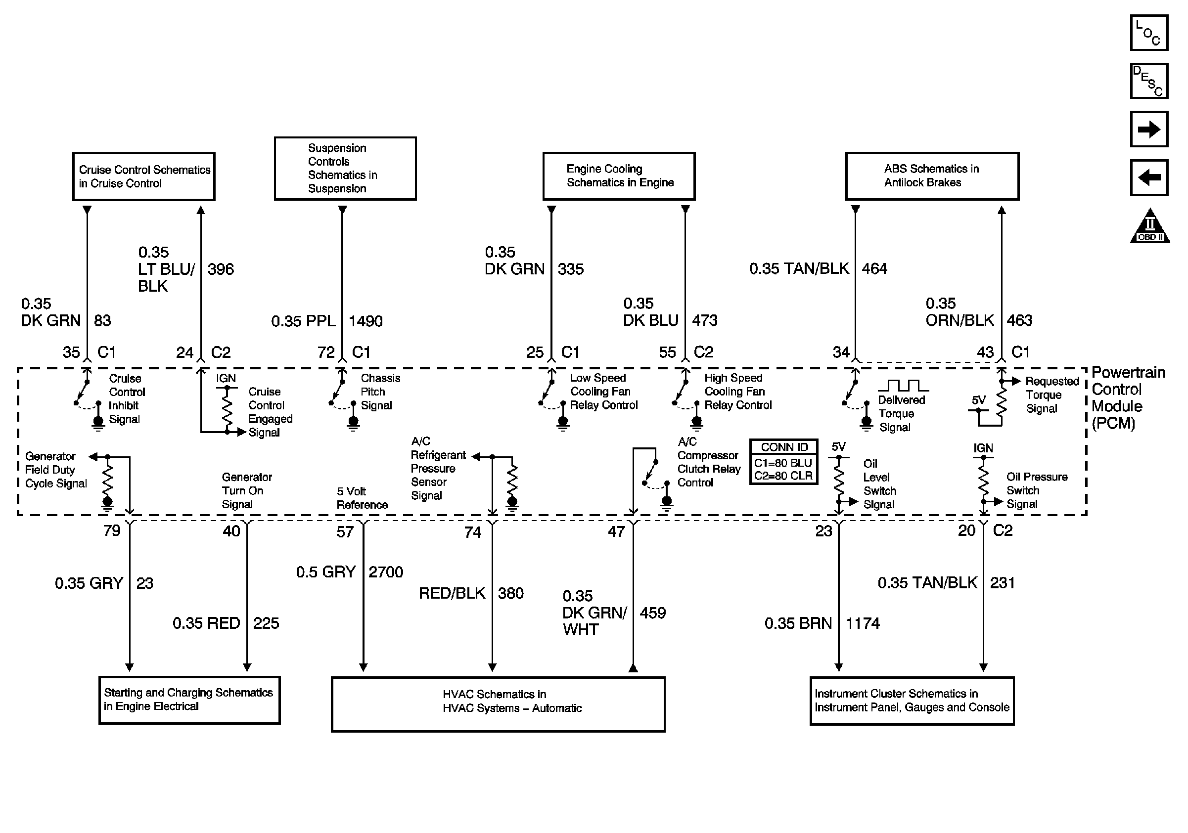
Powertrain Control Module Description
Transmission Controls - A/T
Device Controls
Data Link Communications Schematic Icons
Brakes and Engine Indicators
HVAC Compressor Control
Generator and Battery
Cruise Control Module PCM Inputs and Vehicle Speed Input
Electronic Suspension Control Module-Pwr and Gnd
Cooling Fans
Suspension Inputs, Class 2, Traction Control, Variable Effort Steering