GM Service Manual Online
For 1990-2009 cars only
Makes
🢒
Cadillac
🢒
2003
🢒
Escalade EXT
🢒
Body and Accessories
🢒
Doors
🢒 Door Control Module Schematics
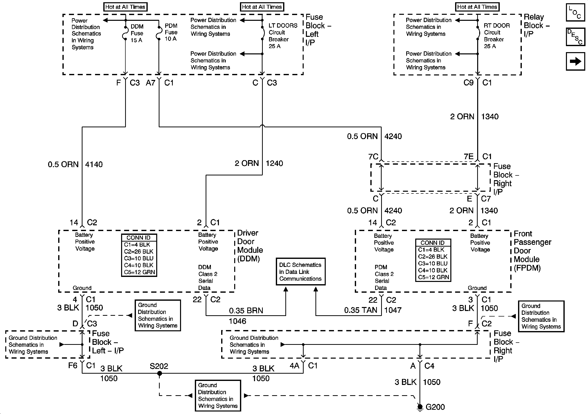
Figure
1:
Power, Ground, and Class 2
Master Electrical Component List
Driver Door Module (DDM) References - 1 of 3
DDM, PDM, ECC, AUX PWR 2, AUX PWR
TBC 2A, TBC 2B, TBC 2C, LT DOORS, RT DOORS, SEATS
LBEC 1, LBEC 2, MBEC 1
LBEC 1, LBEC 2, MBEC 1
TBC 2A, TBC 2B, TBC 2C, LT DOORS, RT DOORS, SEATS
G200 - 3 Of 3
SP205 - 1 of 2
G200 - 1 of 3
G200 - 1 of 3
Figure
2:
Driver Door Module (DDM) References - 1 of 3
Master Electrical Component List
Driver Door Module (DDM) References - 2 of 3
Power, Ground, and Class 2
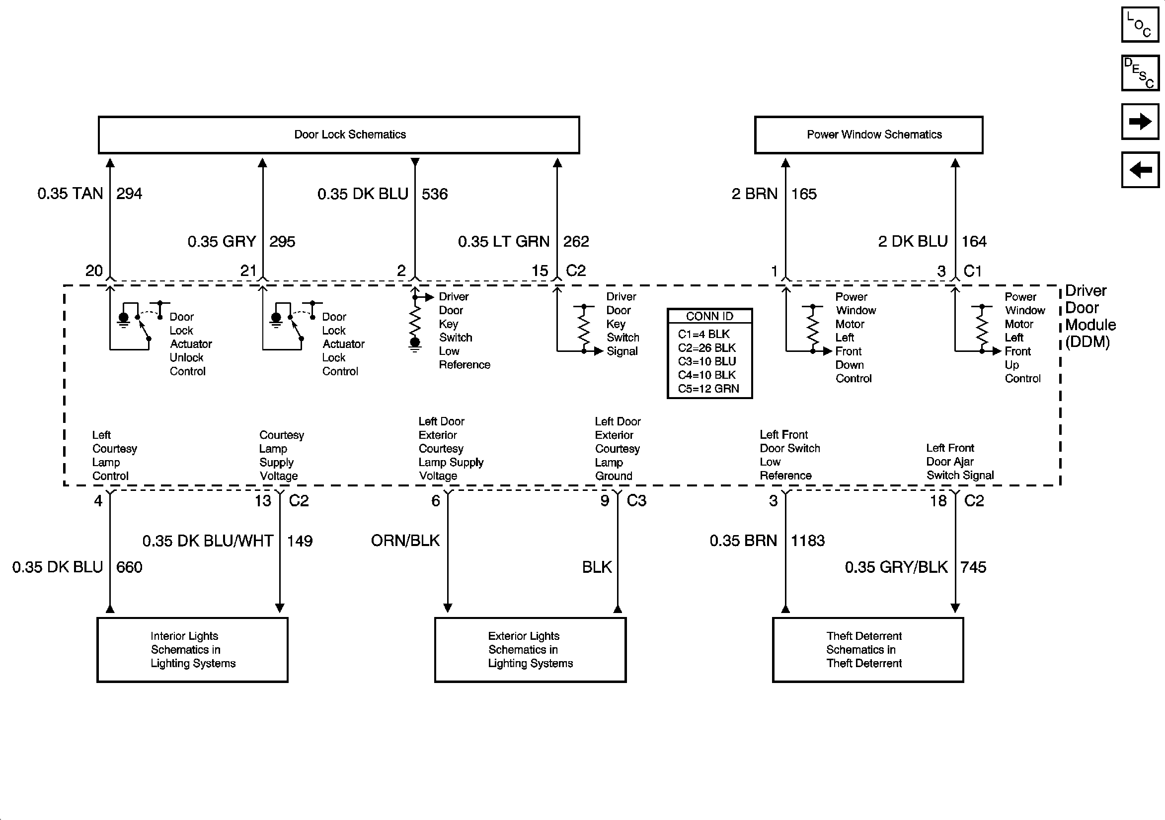
Driver Door Lock Controls
Left Doors
Courtesy Lamp Supply Voltage - 2 of 4
Exterior Illumination Lamps
Front Door Switches
Figure
3:
Driver Door Module (DDM) References - 2 of 3
Master Electrical Component List
Driver Door Module (DDM) References - 3 of 3
Driver Door Module (DDM) References - 1 of 3
1 of 2
Mirror Motors and Position Sensors - Driver
Figure
4:
Driver Door Module (DDM) References - 3 of 3
Master Electrical Component List
Driver Door Module (DDM) References - 2 of 3
Front Passenger Door Module (FPDM) References - 1 of 2
Left Turn Signal - Domestic
Power, Ground, Class 2, and Memory Set Controls
Heated Seat Controls - Driver
Heated Mirror and Electrochromatic Controls
Ground and Electrochromic
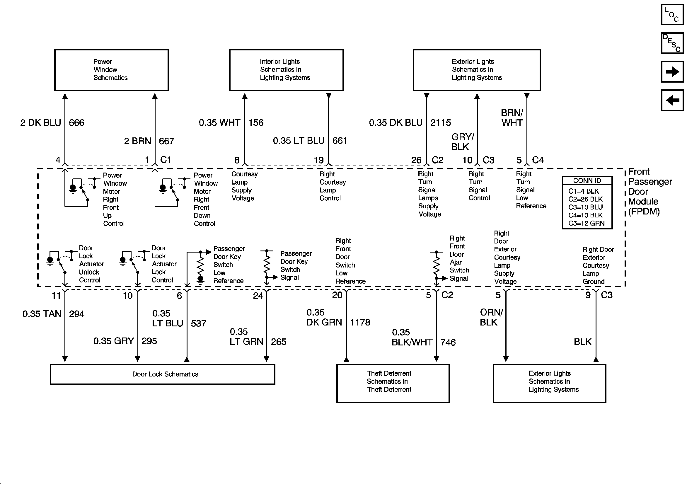
Figure
5:
Front Passenger Door Module (FPDM) References - 1 of 2
Master Electrical Component List
Driver Door Module (DDM) References - 3 of 3
Front Passenger Door Module (FPDM) References - 2 of 2
Right Doors
Courtesy Lamp Supply Voltage - 2 of 4
Right Turn Signals - Domestic
Front Passenger Door Lock Controls
Front Door Switches
Exterior Illumination Lamps
Figure
6:
Front Passenger Door Module (FPDM) References - 2 of 2
Master Electrical Component List
Front Passenger Door Module (FPDM) References - 1 of 2
Heated Mirror and Electrochromatic Controls
Heated Seat Controls - Front Passenger
Mirror Motors and Position Sensors - Front Passenger