GM Service Manual Online
For 1990-2009 cars only
Makes
🢒
Cadillac
🢒
2000
🢒
Seville
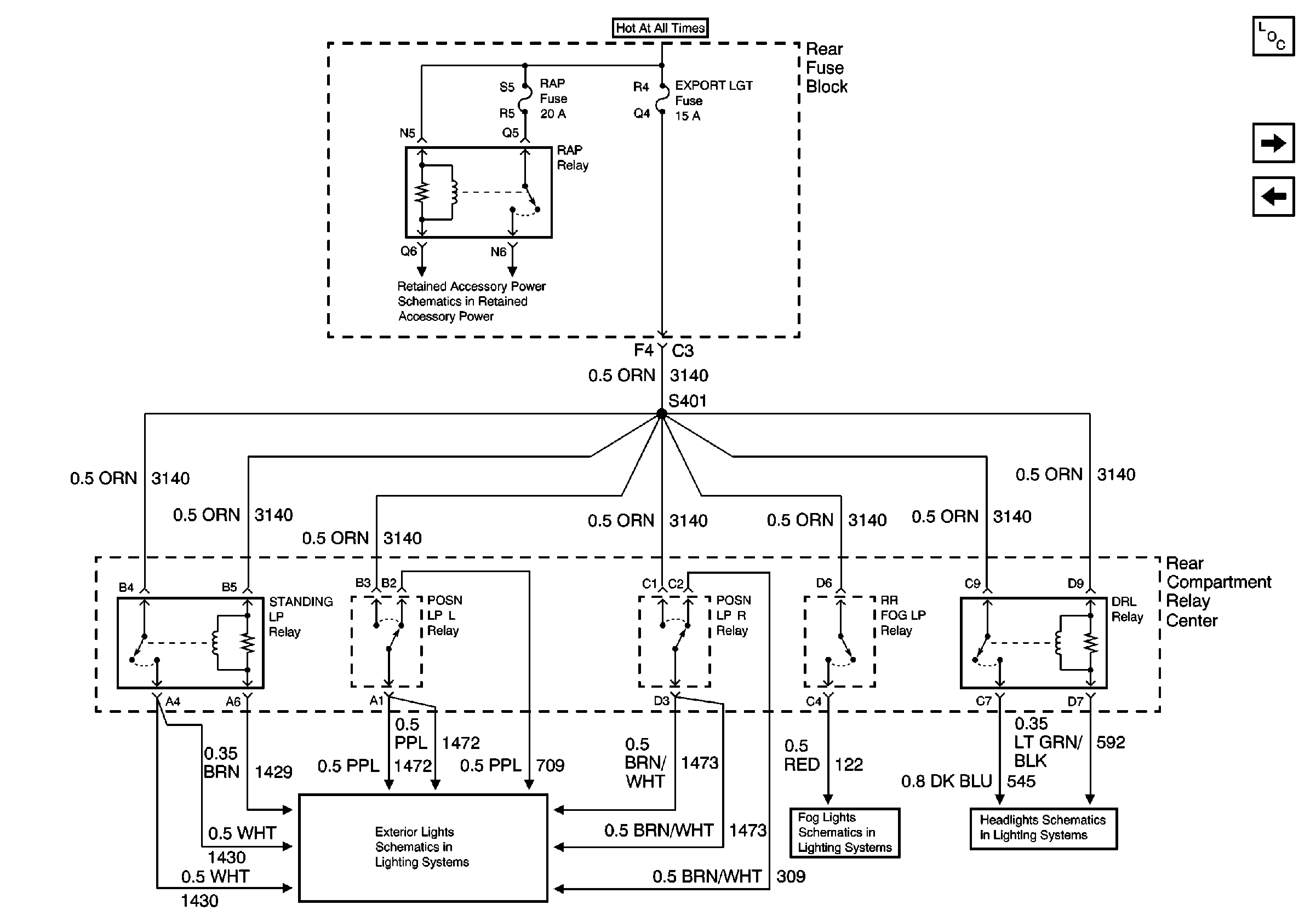
🢒 RAP and Export LGT Fuses
RAP and Export LGT Fuses
RAP and Export LGT Fuses
Power and Grounding Components
Audio, Audio Amp and DIM Fuses
MEM T/T, PWR T/T and TSIG/HAZ Fuse
DIM Inputs
Position Lamps
Fog Lights Schematics
DRL, Low Beam Headlamps