GM Service Manual Online
For 1990-2009 cars only
Makes
🢒
Chevrolet
🢒
2002
🢒
Astro - 2WD
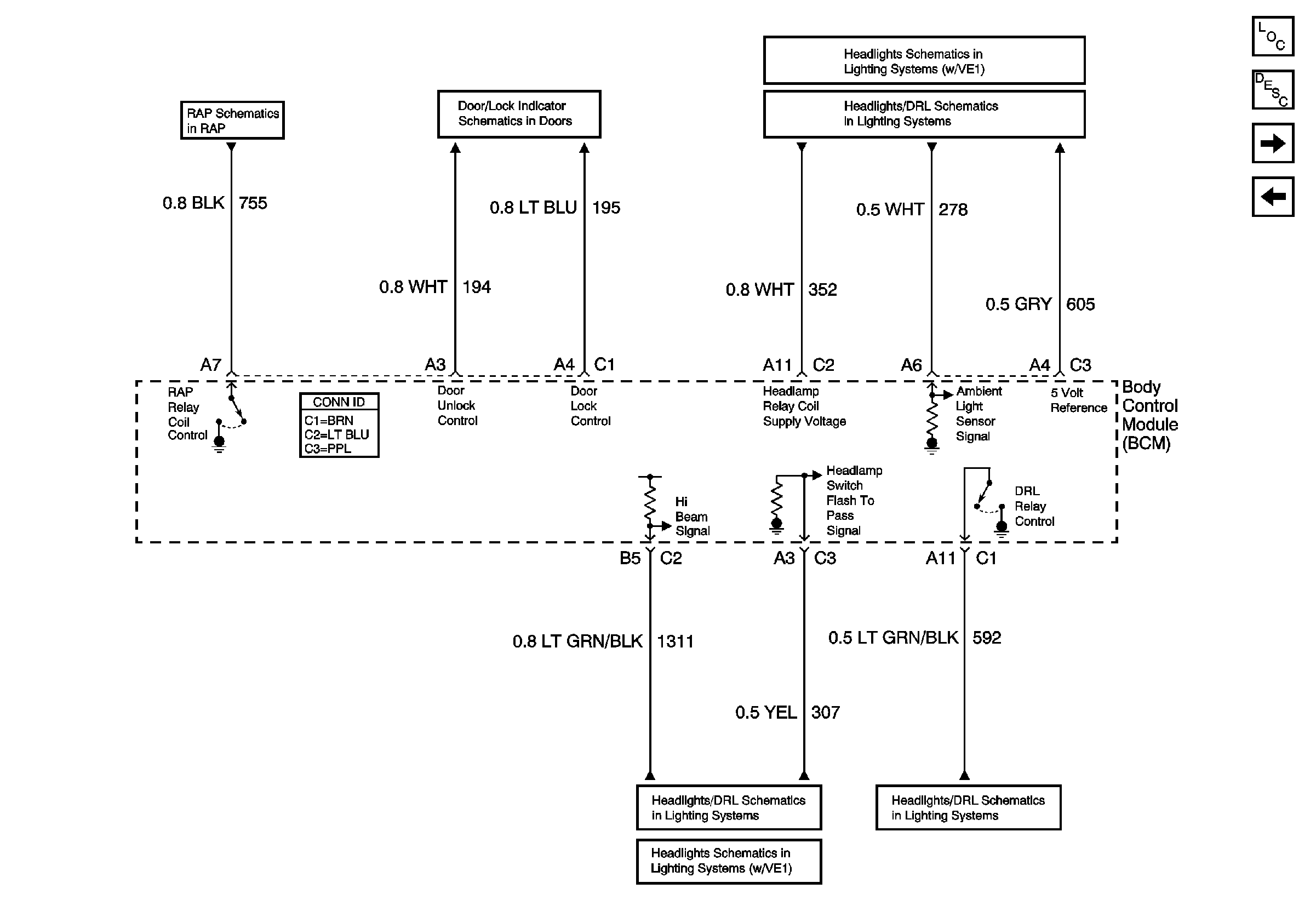
🢒 RAP, Door/Locks, Headlights/DRL, Headlights (w/VE1)
RAP, Door/Locks, Headlights/DRL, Headlights (w/VE1)
RAP, Door/Locks, Headlights/DRL, Headlights (w/VE1)
Master Electrical Component List
Body Control System Description and Operation
Theft Deterrent, A/T Audible Warnings, Brake Warnings, Interior Lights
Power, Ground, and DLC
RAP Relay, BCM
Door Lock Switches and Relay
Headlamp and Panel Dimmer Switch, Ambient Light Sensor (VE1)
Headlamp and Panel Dimmer Switch, Ambient Light Sensor
DRL Relay and Diode
Switch - Garage Door Open Intrigue 02
DRL Relay and Diode