GM Service Manual Online
For 1990-2009 cars only
Makes
🢒
Chevrolet
🢒
2002
🢒
Astro - 2WD
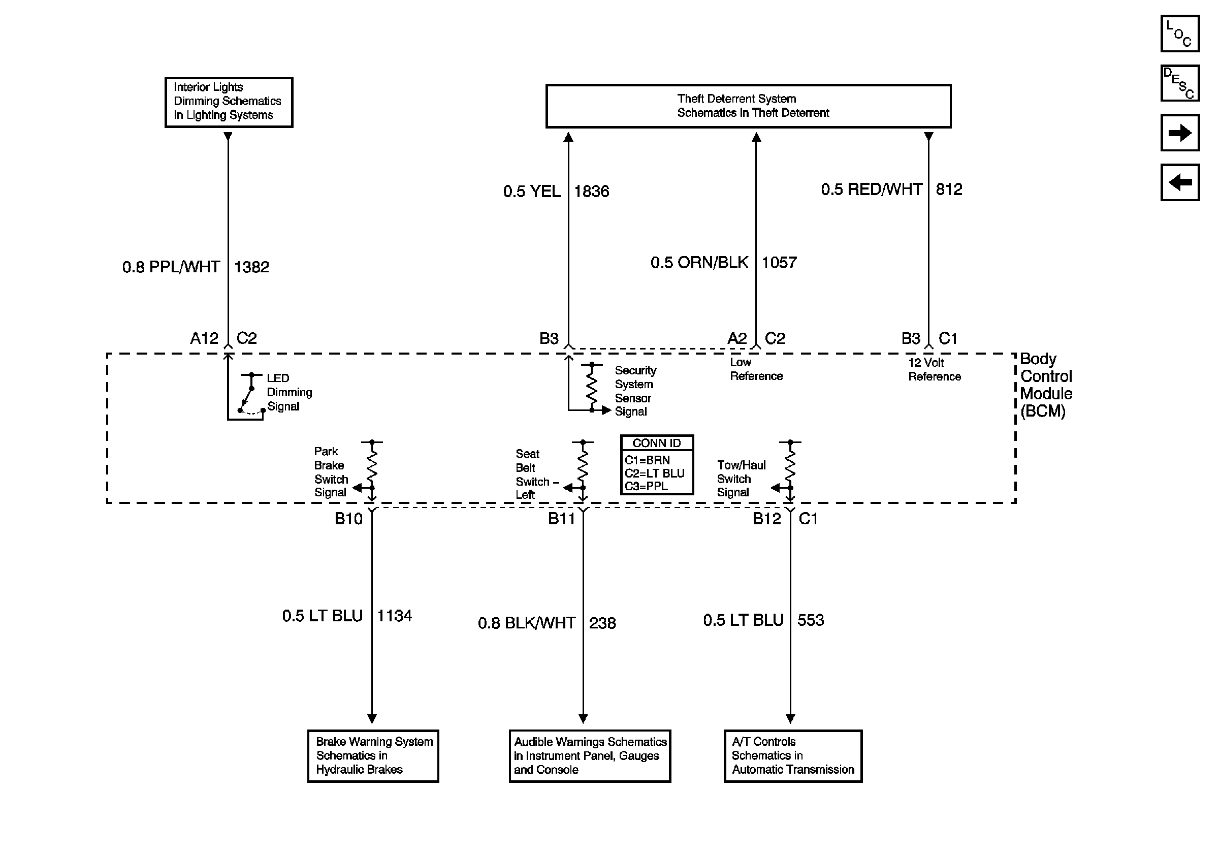
🢒 Theft Deterrent, A/T Audible Warnings, Brake Warnings, Interior Lights
Theft Deterrent, A/T Audible Warnings, Brake Warnings, Interior Lights
Theft Deterrent, A/T Audible Warnings, Brake Warnings, Interior Lights
Master Electrical Component List
Body Control System Description and Operation
Horns, Interior/Exterior Lights, RKE, Instrument Cluster
RAP, Door/Locks, Headlights/DRL, Headlights (w/VE1)
Radio, Overhead Console, and RSA
Theft Deterrent
Brake Warning Schematic
Power, Seat Belt/Ignition Key Alarm/Door Jamb Switches
Tow/Haul Switch and VSS Inputs