GM Service Manual Online
For 1990-2009 cars only
Makes
🢒
Chevrolet
🢒
2002
🢒
Astro - 2WD
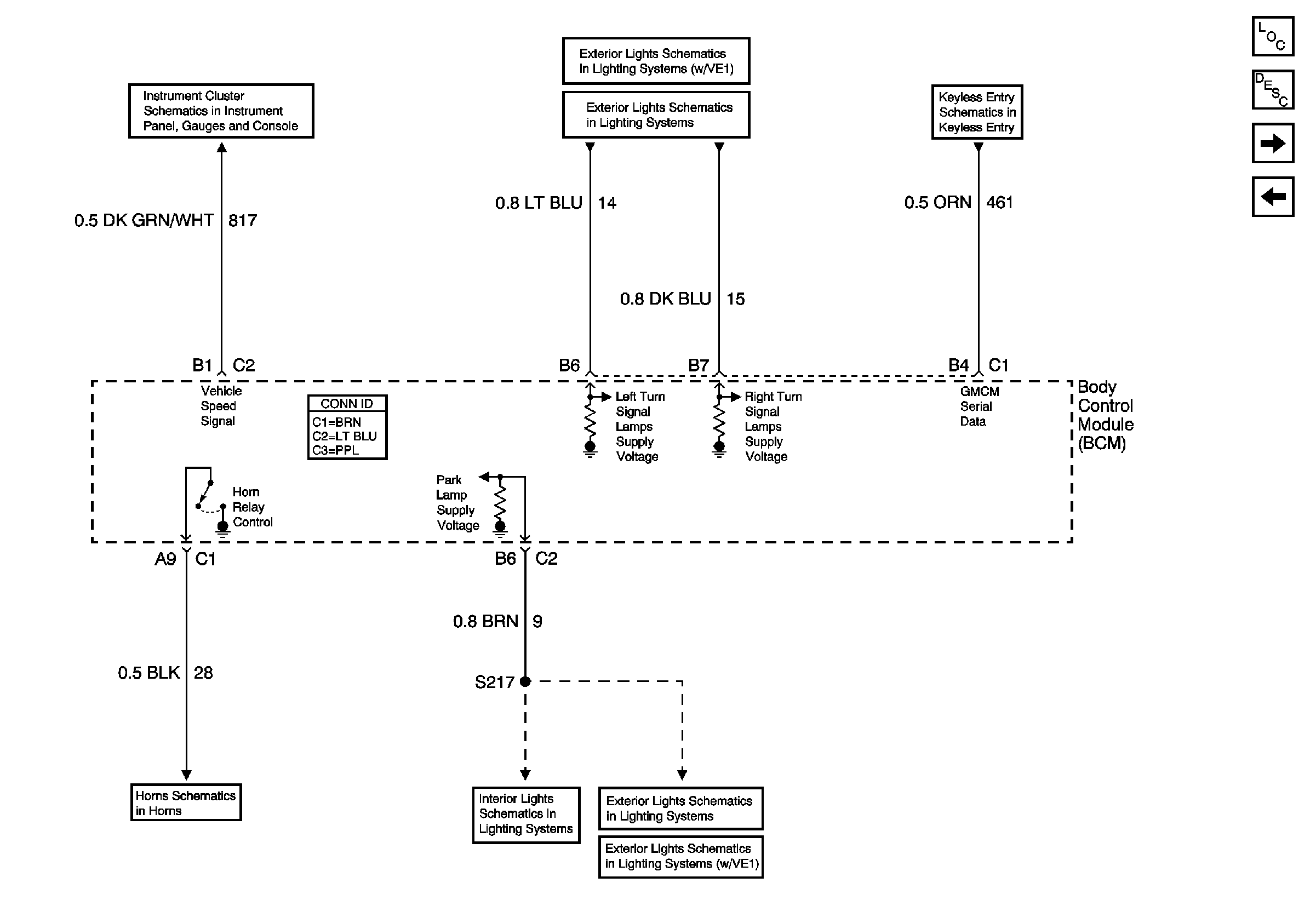
🢒 Horns, Interior/Exterior Lights, RKE, Instrument Cluster
Horns, Interior/Exterior Lights, RKE, Instrument Cluster
Horns, Interior/Exterior Lights, RKE, Instrument Cluster
Master Electrical Component List
Body Control System Description and Operation
Exterior/Interior Lights, Door/Locks, Body Rear End, Audible Warnings
Theft Deterrent, A/T Audible Warnings, Brake Warnings, Interior Lights
Gages
Park Lamp Relay (VE1)
Turn Indicators, Front Marker Lamps, Front Park/Turn SignalLamps
Keyless Entry
Horns
Power Window/Door Lock Switches
Park Lamp Relay
Park Lamp Relay (VE1)