GM Service Manual Online
For 1990-2009 cars only
Makes
🢒
Pontiac
🢒
2001
🢒
Sunfire
🢒 Controlled/Monitored Subsystem References 1 of 3
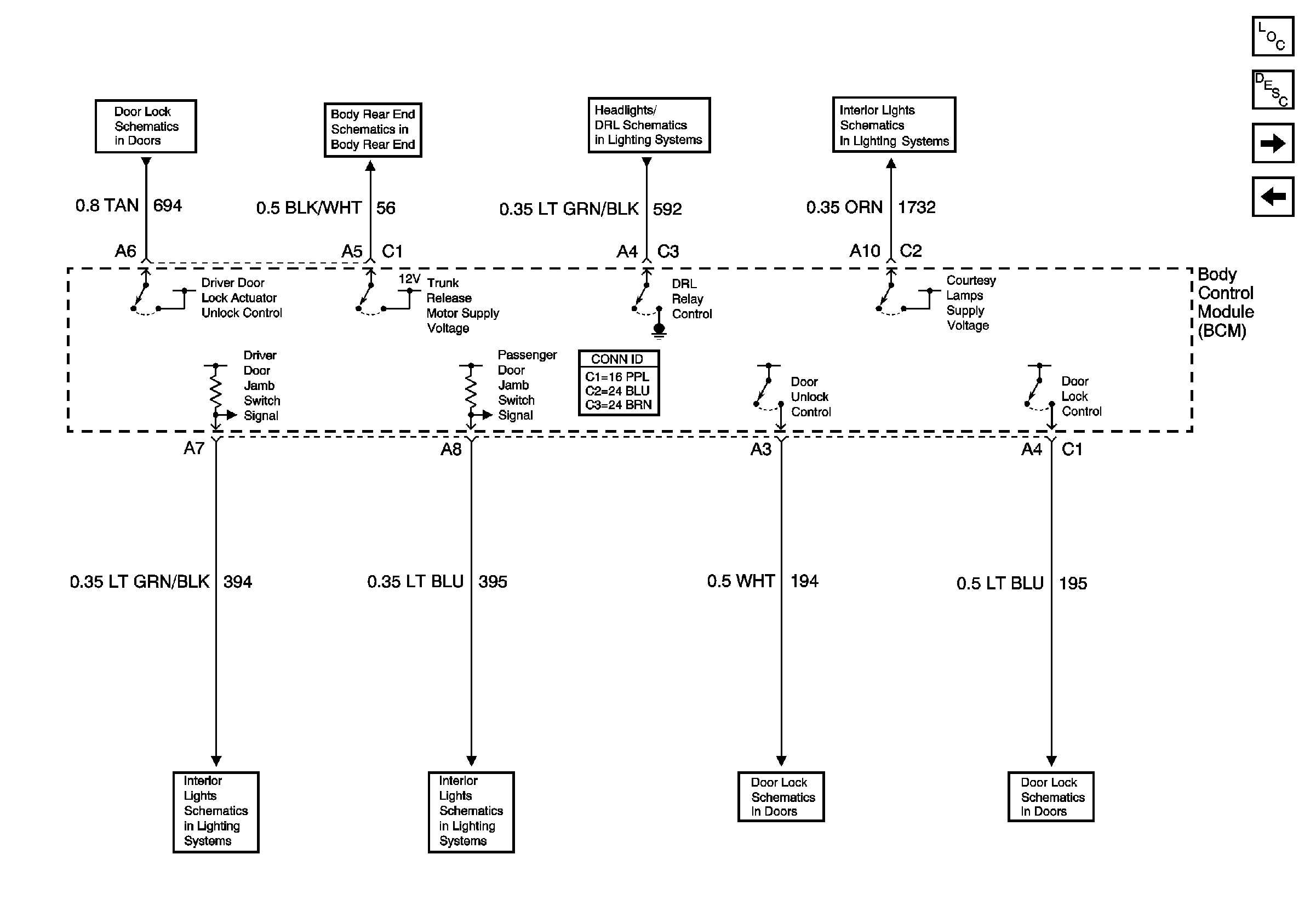
Controlled/Monitored Subsystem References 1 of 3
Controlled/Monitored Subsystem References 1 of 3
Master Electrical Component List
OBD II Symbol Description Notice
Controlled/Monitored Subsystem References 2 of 3
Power, Ground and Serial Data
Switch Signals and Courtesy Lamps Control
Domestic and Indicators
Variable Pulse Delay
Door Jamb Switches
Passlock Cylinder Figure
Passlock Cylinder Figure
Switch and Controls - W/AUO
Switch and Controls - W/AUO
Door Lock Motors - W/AUO
Door Lock Motors - W/AUO