GM Service Manual Online
For 1990-2009 cars only
Makes
🢒
Pontiac
🢒
2001
🢒
Sunfire
🢒 Controlled/Monitored Subsystem References 2 of 3
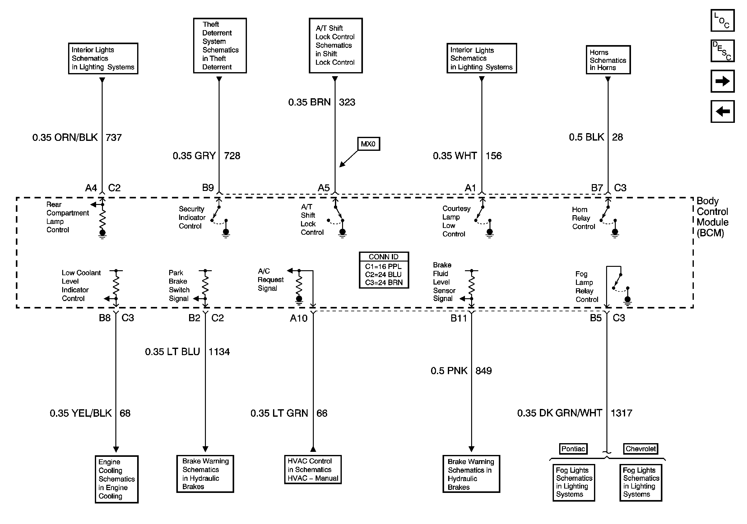
Controlled/Monitored Subsystem References 2 of 3
Controlled/Monitored Subsystem References 2 of 3
Master Electrical Component List
OBD II Symbol Description Notice
Controlled/Monitored Subsystem References 3 of 3
Controlled/Monitored Subsystem References 1 of 3
Horns Schematics Figure
Horns Schematics Figure
Courtesy / Reading Lamps
Courtesy / Reading Lamps
Shift Lock Control
Gages
Switch Signals and Courtesy Lamps Control
Domestic - Pontiac
G102 - 1 of 2
G102 - 1 of 2
A/C Switch and Sensor
ABS Schematics Figure
Power and Ground