GM Service Manual Online
For 1990-2009 cars only
Makes
🢒
Pontiac
🢒
2005
🢒
Wave
🢒 Controlled/Monitored Subsystem References
Controlled/Monitored Subsystem References
Controlled/Monitored Subsystem References
Master Electrical Component List
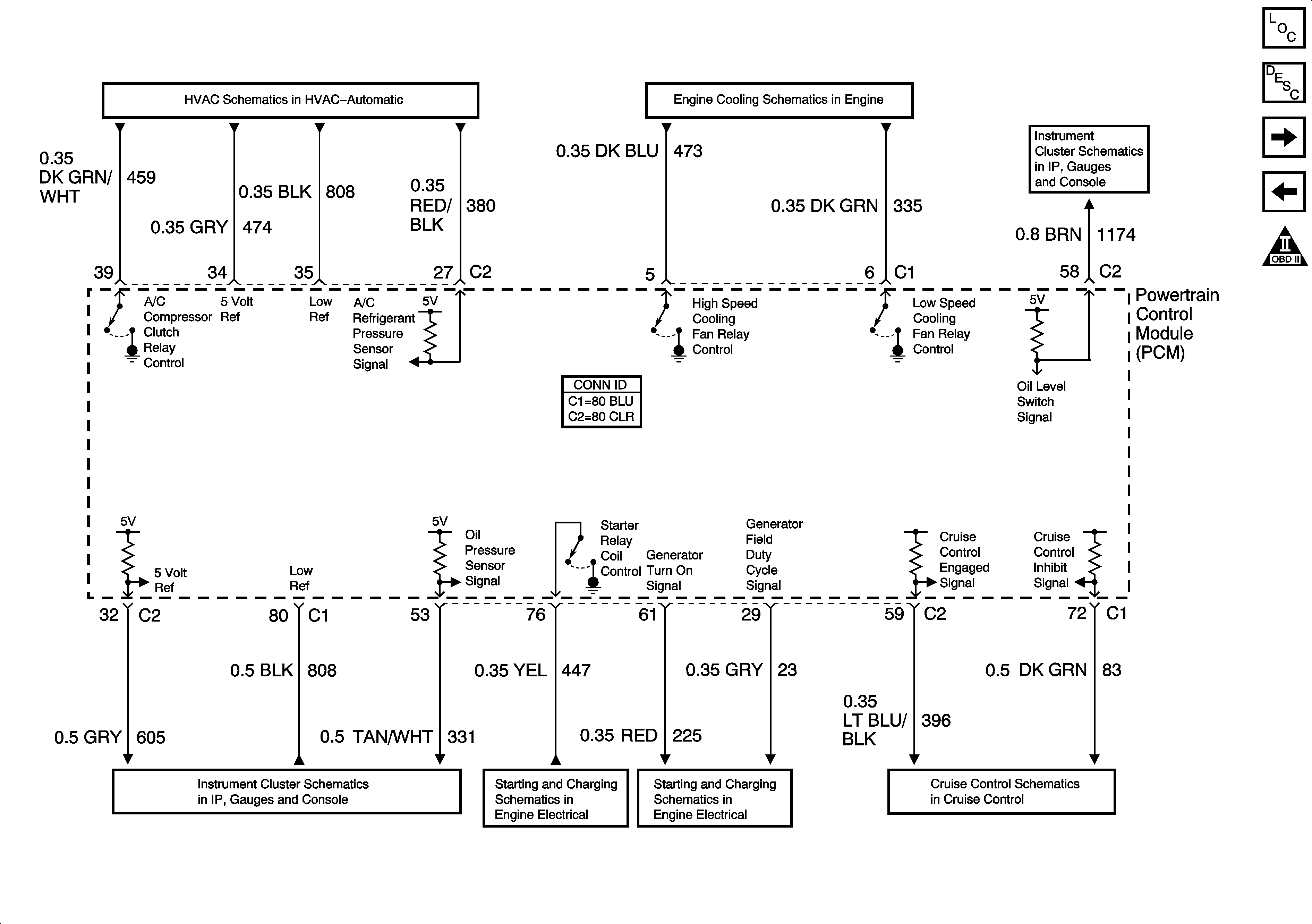
Powertrain Control Module Description
Transmission Controls
05 hp Device Controls
OBD II Symbol Description Notice
Compressor Controls
Engine Cooling Fans, and Relays
DIC Switch (U50)
PCM Signals - Engine Oil and Volt Indicators
Starting Control
Generator Control
Cruise Control Module, and VSS