GM Service Manual Online
For 1990-2009 cars only
Makes
🢒
Chevrolet
🢒
2002
🢒
Chevy C Silverado - 2WD
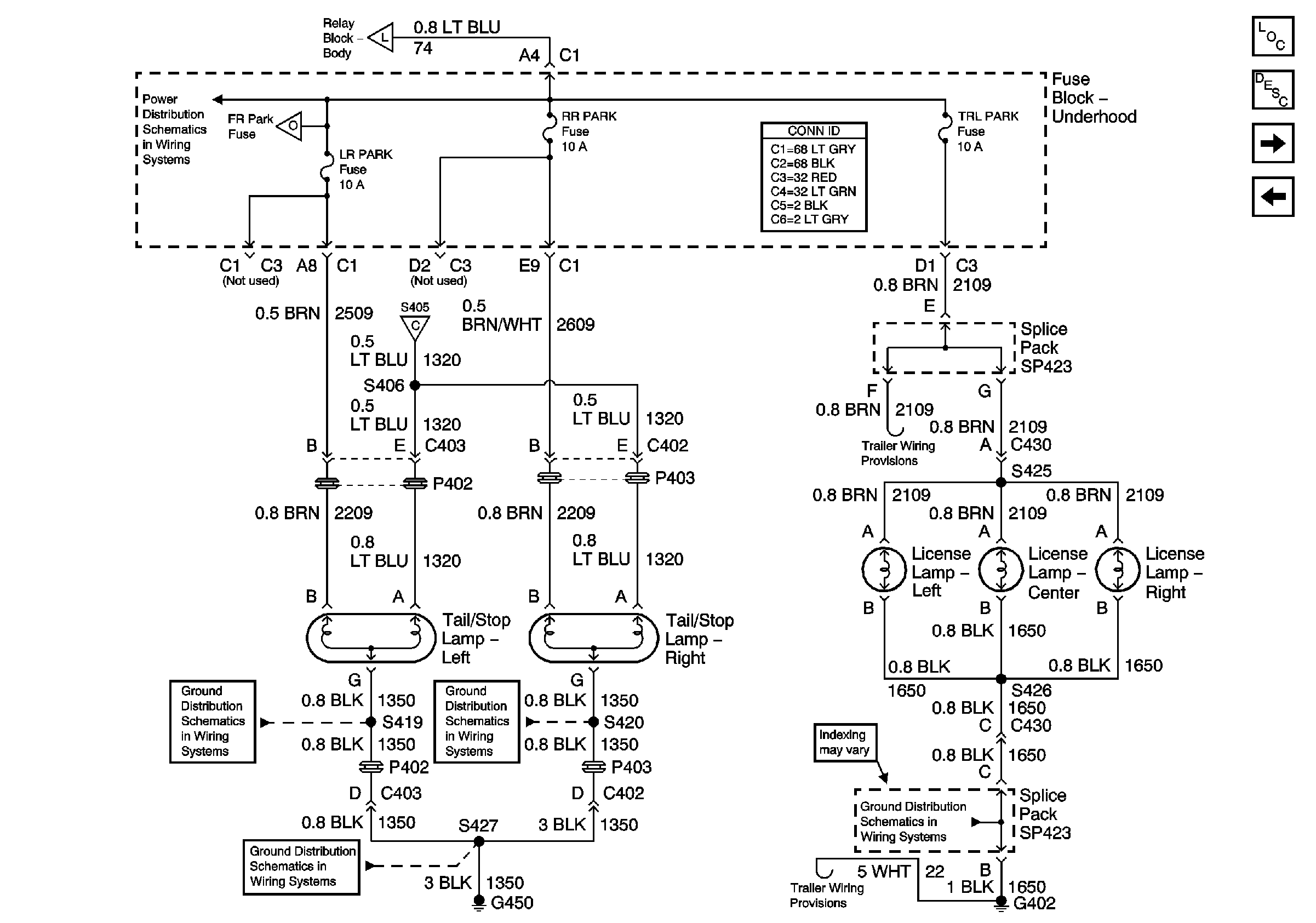
🢒 Tail, Stop and License Lamps - Export
Tail, Stop and License Lamps - Export
Tail, Stop and License Lamps - Export
Master Electrical Component List
Exterior Lighting Systems Description and Operation
Backup Lamps - Utility
Park and License Lamps, Rear - Utility
FR PRK, LR PRK, RR PRK, TRL PRK Fuses and Fog Lamp Relay (Export)
Fuse Block - Underhood
Park/Turn Signal Lamps, Marker Lamps and Turn Signal Fuses, Front
Center High Mounted Stop Lamp
S313 and S419
S320 and S420
G420,G450 and S427 (Utility and Crew Cab)
G402 and G421 (Utility)